中国有色金属学报 2003,(06),1505-1509 DOI:10.19476/j.ysxb.1004.0609.2003.06.034
AZ31镁合金板的热拉深性能
张凯锋 尹德良 吴德忠 蒋少松
哈尔滨工业大学材料科学与工程学院,哈尔滨工业大学材料科学与工程学院,哈尔滨工业大学材料科学与工程学院,哈尔滨工业大学材料科学与工程学院 哈尔滨150001 ,哈尔滨150001 ,哈尔滨150001 ,哈尔滨150001
摘 要:
通过热轧工艺制备了厚度为 0 .8mm的AZ31镁合金薄板。在不同温度和应变速率条件下进行了单向拉伸试验。在 5 0~ 2 4 0℃的温度范围内 ,采用平底杯形冲头拉深试验研究了成形温度、拉深速度以及冲头温度对AZ31镁合金板热拉深工艺的影响。结果表明 :AZ31镁合金热轧薄板的RLD随温度的升高而明显增大 ;在成形温度为 2 0 0℃ ,拉深速度为 30mm/min的条件下 ,最大RLD可达 2 .6 5 ,相应的高径比为 1.4 ,证明AZ31镁合金板具有良好的热拉深性能 ;此外 ,拉深速度和冲头温度对AZ31镁合金的拉深成形也有重要影响。
关键词:
AZ31镁合金 ;拉深性能 ;成形温度 ;极限拉深比 ;
中图分类号: TG356
作者简介: 张凯锋(1951),男,教授,博士生导师.; 尹德良,博士研究生;电话:045186413681;Email:d_l_yin2000@yahoo.com.cn;
收稿日期: 2002-12-08
Deep drawability of AZ31 magnesium alloy sheets at elevated temperatures
Abstract:
AZ31 magnesium alloy sheets with a thickness of 0.8 mm were prepared through hot-rolling process. For the determination of the mechanical properties relevant to deep drawing of AZ31 magnesium alloy, uniaxial tensile tests were carried out under various temperatures and strain rates. Deep drawing tests for AZ31 magnesium alloy were conducted in a temperature range between 50 ℃ and 240 ℃. The effects of forming temperatures, deep drawing speeds and punch temperatures on deep drawing process were experimentally investigated. It is indicated that the limiting drawing ratio(RLD ) significantly increases with the increase of temperatures. The maximum RLD can be raised up to 2.65 with the corresponding height-diameter ratio of 1.4 under a deep drawing speed of 30 mm/min at 200 ℃, thus showing good formability of AZ31 magnesium alloy sheet. Further, deep drawing speeds and punch temperatures during deep drawing process can also exert significant influence on the deep drawing of AZ31 magnesium alloy.
Keyword:
AZ31 magnesium alloy; deep drawability; forming temperature; limiting drawing ratio;
Received: 2002-12-08
作为密度最小的结构金属材料, 镁合金不仅具有较高的比刚度和比强度, 而且有着优良的散热性能、 电磁屏蔽性能和减震性能
[1 ]
, 因而在汽车工业、 航空航天业以及电器制造业中有着广阔的应用前景。
近年来, 镁合金的压铸成型技术发展迅速, 已经成为制造镁合金产品的主导工艺。 该工艺允许生产形状复杂的零件, 生产效率较高。 但压铸技术生产的零件由于含有一些微观孔洞等缺陷, 使零件的综合强度和使用性能难以满足较高的要求
[2 ]
。 另外, 大多数镁合金压铸工艺需要使用SF6 作为阻燃剂, 不仅增加了生产成本, 而且污染了环境
[3 ]
。 与压铸工艺相比, 板料成形工艺不仅不会污染环境而且能够生产出具有良好力学性能和组织性能的零件。 但直至目前, 镁合金的板料成形技术仍未在工业生产中应用。 这主要是因为镁合金的密排六方(HCP)结构使之在室温下的塑性很差, 难以通过冷态下的板料成形进行大批量生产。
镁合金尤其是变形镁合金的塑性随工作温度的升高而明显改善, 这为镁合金板料的热成形提供了可能。 尽管已有少数文献对镁合金高温下的变形行为和成形极限进行了报道
[4 ,5 ,6 ,7 ,8 ,9 ]
, 但有关成形温度、 变形速度以及冲头温度对镁合金成形性能影响的研究很少
[2 ,10 ]
。 本文作者采用热轧工艺制备了具有良好组织状态的AZ31镁合金薄板。 通过单向拉伸试验研究了镁合金在不同温度和应变速率条件下的力学性能。 使用平底杯形冲头进行了AZ31镁合金板高温下的拉深试验, 获得了合金在不同温度下的极限拉深比, 并就拉深速度、 冲头温度对拉深工艺的影响进行了分析。
1 实验
1.1 镁合金热轧板的制备
研究用原材料为商用挤压态AZ31镁合金板, 厚度为1.2 mm, 其化学成分如表1所示。 微观组织分析表明: 镁合金板的平均晶粒尺寸为15 μm, 晶粒不仅粗大而且大小不均。
表1 AZ31镁合金板的化学成分 Table 1 Chemical composition of AZ31magnesium sheet (mass fraction,%)
Al
Zn
Mn
Ca
Si
Cu
Mg
2.5~3.5
0.6~1.4
0.2~1.0
0.04
0.1
0.01
Bal.
为了获得具有细晶组织和良好成形性能的镁合金薄板, 需对AZ31挤压态镁合金进行轧制处理。 由于镁合金在室温下的塑性差, 难以进行冷轧加工
[11 ]
, 因此, 需要采用热轧工艺将原始板轧制成厚度为0.8 mm的薄板。 轧制前, 分别将镁合金板和轧辊加热至320 ℃, 以提高板料的塑性, 同时避免轧制过程中产生的加工硬化和织构。 若低于此温度轧制, 表面会出现裂纹; 若高于此温度轧制, 将获得晶粒粗大的板料。
轧制过程分4个道次进行, 随着镁合金板的变薄, 压下率从16.7%减小到4.2%。 这是因为板料越薄, 温度下降得越快, 板料的塑性越差, 容许的压下量也随之降低。 在轧制2道次后, 需将板料和轧辊重新加热至320 ℃, 再进行后2个道次的轧制, 以防止轧制期间的热量散失使镁合金的塑性下降, 造成轧裂。
经过上述热轧处理, 获得了具有良好细晶组织的AZ31镁合金薄板, 其平均晶粒尺寸为4.5 μm。
1.2 单向拉伸试验
单向拉伸试验在日本岛津AG-1 250 kN电子拉伸试验机上进行。 试样的标距和宽度分别为12 mm和5 mm。 拉伸分别沿着与轧制方向呈0°, 45°和90°进行。 在50~240 ℃的温度范围内, 以恒定的应变速率
( ε ˙ )
(
ε
˙
)
对试样进行拉伸。 应变速率在7.0×10-3 s -1 到1.4×10-1 s -1 的范围内变动。 平均厚向异性指数
r ?
r
?
值根据下式计算:
r ? = 1 4 ( r 0 + r 9 0 + 2 r 4 5 ) ? ? ? ( 1 )
r
?
=
1
4
(
r
0
+
r
9
0
+
2
r
4
5
)
?
?
?
(
1
)
1.3 极限拉深比试验
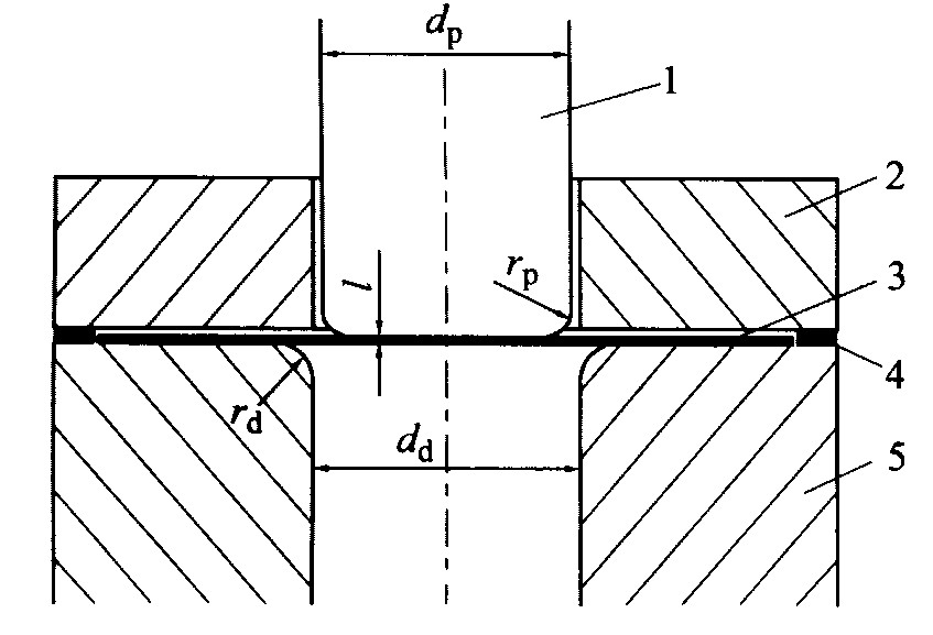
为了研究AZ 31镁合金薄板的热拉深性能, 在50~240 ℃的温度范围内, 使用平底杯形冲头进行了极限拉深比(RLD )试验。 试验在10 MN 液压材料试验机上进行, 模具简图如图1所示。
图1 极限拉深比试验模具简图 Fig.1 Scheme of tooling for RLD test 1—Punch; 2—Blank holder; 3—Circular blank; 4—Spacer; 5—Female die
使用2个独立的电加热元件分别对冲头1和凹模5(板料放置于凹模与压边圈之间)加热, 以研究不同冲头温度对拉深过程的影响。 使用固定压边间隙的刚性压边装置, 通过施加足够的预紧力将压边圈2和凹模5紧固联接。 使用间隙板4保证恒定的压边间隙, 并可通过改变间隙板4的厚度调节压边间隙的大小。 采用高温油脂作为润滑剂, 并将润滑剂均匀地涂抹于压边圈2的下表面和凹模5的上表面。 冲头直径d p 和凹模内径d d 分别为40 mm和42 mm。 冲头圆角半径r p 和凹模圆角半径r d 分别为5 mm和4.5 mm。 试验所用圆形坯料的厚度l 为0.8 mm, 直径d 0 以4 mm递增, R LD 由下式确定:
R L D = d 0 max d p ? ? ? ( 2 )
R
L
D
=
d
0
max
d
p
?
?
?
(
2
)
2 结果与讨论
2.1 与拉深工艺相关的力学性能
2.1.1 温度对流动曲线的影响
图2所示为AZ31镁合金的单向拉伸试验中, 应变速率恒为4.2×10-2 s-1 , 温度在50~240 ℃范围内变动时的流动曲线。 从图2可以看出: 当应变速率保持不变, 拉伸强度(σ b )随着温度的升高而减小, 而总延伸率则随温度的升高而增加。
图2 不同温度条件下AZ31合金的流动曲线 Fig.2 Flow curves of AZ31 alloy at various temperatures
由此可知, 随着温度的升高, AZ31镁合金的密排六方晶格中的非基滑移系被激活, 使该合金的塑性变形能力明显增强。 与塑性变形能力增强的趋势相反, 应变硬化能力却随着温度的增加而明显减弱。 这是因为随着温度的上升, 热激活作用的增强导致镁合金发生一定程度的动态回复, 从而大大降低了材料的位错密度, 削弱了材料的应变硬化能力。
2.1.2 应变速率对流动曲线的影响
图3所示为在200 ℃的温度下, 不同应变速率对流动曲线的影响。 从图3可以看出: 随着应变速率的提高, 初始屈服应力(σ s )和拉伸强度均增大, 而总延伸率却显著降低。 这表明AZ31镁合金在一定温度条件下变形所需变形力随应变速率的提高而增大。 另外, 应变速率越高, 失稳后的应变急剧减小, 这说明随着应变速率的增大, 缩颈后的断裂过程加快, 这可能会影响到AZ31镁合金板的热拉深过程。
图3 不同应变速率条件下AZ31合金的流动曲线 Fig.3 Flow curves of AZ31 alloy under various strain rates
2.2 工艺条件对拉深过程的影响
2.2.1 拉深速度对拉深过程的影响
为确定拉深速度对AZ31镁合金板热拉深的影响, 在200 ℃的成形温度(凹模温度)下, 分别采用3种恒定的速度7.5, 30和72 mm/min对镁合金板进行了平底杯形冲头拉深试验。 实验结果表明: 以72 mm/min的速度进行拉深时, 板料拉深很浅时便发生断裂; 而以30 mm/min和7.5 mm/min速度进行拉深时, 坯料均能完全拉进, 并获得了R LD 为2.65, 高径比为1.4的杯形件(见图4)。
图5所示为200 ℃时, 不同拉深速度下的拉深力—冲头行程曲线。 从图5可以看出: 随着拉深速度的增大, 所需的拉深力显著增加; 当拉深速度增至72 mm/min时, 拉深力迅速增至11 kN, 导致拉深不成功。 这是由于AZ31镁合金在200 ℃的应变速率强化效应, 使材料的初始屈服应力增加; 同时拉深速度的增加使凸缘的增厚加快, 拉深过程继续进行所需的拉深力迅速增大直至超出凹模圆角处金属材料的承受能力, 造成该处金属过早发生局部流
图4RLD为2.65的杯形件 Fig.4 Cup component with RLD of 2.65
图5 不同拉深速度下的 拉深力—冲头行程曲线 Fig.5 Punch force vs punch stroke curves at various punch speeds
动而失稳断裂。
2.2.2 成形温度对拉深过程的影响
由图2所示的不同温度下的流动曲线可以看出: 镁合金的延伸率随着温度的升高而显著增大, 但同时板料的屈服应力和拉伸强度也随之降低, 应变硬化能力明显下降。 一方面, 随着成形温度的升高, 镁合金的塑性能力增强, 拉深性能会得到一定的改善。 另一方面, 随着温度的上升, 板料的屈服应力降低而且应变硬化能力明显减弱, 这使得板料的屈强比(σ s /σ b )和均匀变形能力下降, 极易使危险截面处金属发生局部流动, 从而使R LD 降低。 因此, 成形温度对R LD 的影响取决于以上两方面相互作用的结果。 为了定量地确定成形温度对R LD 的影响, 在50~240 ℃的温度范围内, 以恒定的拉深速度30 mm/min进行了拉深试验, 得出了不同温度下的极限拉深曲线(见图6)。 可以看到, 与室温下的R LD =1.3相比, 在50~200 ℃范围内, AZ31镁合金板的R LD 随着温度的上升不断增大, 到200 ℃达到最大值2.65, 这说明在200 ℃时, 延伸率增加的促进作用与应变硬化能力降低的负面影响达到了平衡。 当温度超过200 ℃, 应变硬化能力降低的影响超过了延伸率增加的影响, 导致R LD 开始下降, 到240 ℃时降低到2.2。 由此确定了AZ31镁合金的最佳拉深成形温度为200 ℃。
图6 不同成形温度下的极限拉深比曲线 Fig.6RLD curves at various forming temperatures
2.2.3 冲头温度对拉深过程的影响
在金属板料的热拉深成形时, 经常不加热冲头或将冲头加热至远低于板料成形的温度, 使得与冲头圆角和壁部相接触板料金属的流动应力高于凸缘部位金属的流动应力以显著提高冲头圆角和壁部金属的传力能力, 增大板料的极限拉深比。 但是, 由于AZ31镁合金的低热容量和高热传导系数以及在低温下有限的塑性, 当温度过低的冲头与镁合金板接触时, 与冲头底部和圆角接触的板料的温度将迅速下降, 塑性急剧降低, 产生所谓的激冷现象
[12 ]
, 就会在拉深的初始阶段发生脆性断裂。 而若冲头的温度接近或超过成形温度, 则与冲头接触的板料的流动应力和凸缘部分的流动应力接近。 这样在拉深过程中随着所需拉深力的增加, 冲头圆角处金属的等效应力将超过凸缘部分材料的屈服应力, 使变形区转移至冲头圆角处, 并最终导致失稳断裂。 因此, 确定合适的冲头温度范围对镁合金热拉深过程具有重要的意义。
为此, 在50~240 ℃的温度范围内分别对冲头和凹模加热, 以考察不同成形温度下的冲头温度的变动对热拉深成形的影响。 试验结果表明: 将冲头的温度控制在50~90 ℃的范围内, 拉深过程均能顺利进行。 当冲头温度低于50 ℃, 试件很快在凹模入口处发生脆性断裂(见图7); 而当冲头温度高于90 ℃时, 试件在拉进一定深度在冲头圆角处后发生断裂(见图8)。
图7 冲头温度过低导致的断裂 Fig.7 Fracture caused by low punch temperature
图8 冲头温度过高导致的断裂 Fig.8 Fracture caused by high punch temperature
需要注意的是, 当拉深坯料的直径较大时, 由于冲头圆角处金属所受的最大拉应力较大, 冲头的温度应取范围内较低的值, 以提高该处金属的抗拉强度, 保证拉深过程的顺利进行。
3 结论
1) 在50~240
℃温度范围内, AZ31镁合金在200 ℃具有最佳的拉深性能, 最大R LD 可达2.65。
2) AZ31镁合金对变形速度具有显著的敏感性。
因此, AZ31镁合金的热拉深应在速度较低的液压机上进行。 在50~240 ℃的成形温度范围内, 以低于30 mm/min的速度进行拉深可获得令人满意的效果。
3) AZ31镁合金在50~240
℃的温度范围内拉深时, 冲头的温度控制在50~90 ℃的温度范围内是保证获得最佳拉深性能的重要条件。
参考文献
[1] BuskRS .MagnesiumProductionDesign[M ].NewYork:MarcelDekkerInc,1986.1316.
[2] DoegeE ,DroderK .Sheetmetalformingofmagnesiumwroughtalloys formabilityand processtechnology[J].JournalofMaterialProcessingTechnology,2001(115):1419.
[3] SanoT ,WinterA ,SaikiT ,etal.Reductionofenviron mentalimpactattainedbymagnesiumalloysforautomo tivecomponents[A].Proceedingsofthe6thInternationalConferenceonTechnologyofPlasticity[C].Berlin,Ger many:SpeingerVerlag,1999.589594.
[4] WatanabeH ,TsutsuiH ,MukaiT ,etal.DeformationMechanisminacoarse grainedMgAlZnalloyatelevatedtemperatures[J].InternationalJournalofPlasticity,2001,17:387397.
[5] LeeShyong,Yung hungChen,Jian yihWang.Isother malsheetformabilityofmagnesiumalloyAZ31andAZ61[J].JournalofMaterialProcessingTechnology,2002,124:1924.
[6] DoegeE ,DroderK .Processingofmagnesiumsheetmet alsbydeepdrawingandstretchforming[J].MaterTech,1997(78):1923.
[7] KohzuM ,YoshidaF ,SomekawaH ,etal.Fracturemechanismandforminglimitindeep drawingofmagne siumalloyAZ31[J].MaterTrans,2001,42(7):12731276.
[8] KanekoJ ,SugamataM ,NumaM .Effectoftextureonthemechanicalpropertiesandformabilityofmagnesiumwroughtmaterials[J].JJapanInstMetals,2002,64(2):141147.
[9] TozawaY .Deepdrawingofmagnesiumalloysheets[J].JJapanInstLightMetals,2001,51(10):492497.
[10] OhwueT ,SekiguchiF ,KikuchiM ,etal.FormabilityofAZ31magnesiumalloysheetsunderwarmworkingconditions[J].JJapanSocTechPlasticity,2001,42:246248.
[11] KimWJ ,ChungSW ,KumD .Superplasticityinthinmagnesiumalloysheetanddeformationmechanismmapsformagnesiumalloysatelevatedtemperatures[J].ActaMater,2001,49:33373345.
[12] SemiatinSL ,JonasJJ.FormabilityandWorkabilityofMetalsPlasticInstabilityandFlowLocalization[M].O hio:ASM ,MetalsPark,1984.121122.