稀有金属 2005,(06),944-947 DOI:10.13373/j.cnki.cjrm.2005.06.031
新铜萃取剂萃取盐酸介质中铜的实验研究
马鲁铭 朱萍 袁媛 方晨 曾颖
同济大学环境科学与工程学院,上海新禹环保技术有限公司,上海大学环化学院,上海新禹环保技术有限公司,上海大学环化学院,上海大学环化学院 上海200092,上海200135,上海200072,上海200135,上海200072,上海200072
摘 要:
采用新铜萃取剂N902对盐酸介质中铜的萃取进行了研究。考察了萃取剂、氢离子、氯离子、铜离子浓度及萃取时间的变化对铜萃取率的影响。结果表明, 随着氢离子、氯离子浓度的增加, 铜萃取率下降。当铜的浓度达8.5 g.L-1时, 用30%的N902萃取盐酸介质中的铜, 萃取率可达98.96%。并对不同酸性介质中铜的萃取率进行了比较, 发现在硫酸介质中铜的萃取率相对较高。用4 mol.L-1硫酸反萃负载铜有机相, 单级反萃率可达86%以上。初步探讨了其萃取机制, 用等摩尔系列法确定萃合物的组成为CuR2。
关键词:
铜 ;萃取 ;盐酸 ;
中图分类号: O658
收稿日期: 2004-12-04
Solvent Extraction of Copper from Hydrochloric Acid Media Using New Extractant
Abstract:
Solvent extraction of copper from hydrochloric acid media using new extraction N902 was studied.Effects of extractant concentration, , , [Cu2+ ] and extraction time on the percentage extraction were determined.The results show that the percentage extraction of copper is reducing with increasing of and .Under the condition of copper concentration 8.5 g·L-1 , the percentage extraction reaches 98.96% with 30% N902 from hydrochloric acid media.In addition, the percentage extractions were compared in the different acid media.The result indicates that it is higher in the sulfuric acid.One-stage percentage stripping reached more than 86% with sulphuric acid whose concentration is (4 mol·L-1 ) .The mechanism was discussed briefly.The composition of complex was determined by the constant molarity method and the result is CuR2 .
Keyword:
copper;extraction;hydrochloric acid;
Received: 2004-12-04
随着铜湿法冶金技术的发展, 浸出液中铜的含量越来越高。 另外, 随着电子技术的发展, 印刷电路板行业不断扩大, 其蚀刻工艺产生大量含铜蚀刻废液, 其中一部分是高铜盐酸介质的蚀刻废液。 如能用萃取技术
[1 ,2 ,3 ,4 ,5 ]
将铜回收利用, 具有十分重要的意义。 本文采用的萃取剂N902类似于M5640。 对其盐酸介质中铜的萃取进行了性能研究
[6 ,7 ]
。
1 实 验
1.1 实验试剂
铜萃取剂N902: 上海有机化学研究所研制。 外观为琥珀色液体, 无可见杂质; 比重: 0.95~0.97; 粘度<190CP; 闪点>62 ℃。 其他试剂均为分析纯。 待萃液的配制: 称取一定量的氯化铜, 根据所需的酸度用稀盐酸 (或水) 将其溶解并定容到容量瓶中, 即得所需溶液。 有机相的配制: 取一定体积的N902, 用磺化煤油稀释到所需浓度 (体积比) 。
1.2 实验方法
分别用移液管移取相比 (O/A) =1∶1的待萃液和配制好的萃取剂于具塞比色管中, 于室温下采用人工振荡的方式进行混相。 静置分相后, 采用碘量法或铜试剂比色法分析萃余液中铜的浓度, 有机相中铜浓度用差减法求算。
2 结果与讨论
2.1 萃取原理
N902是一种类似M5640的萃取铜的螯合萃取剂。 主要成分为2-羟基-5-壬基水杨醛肟, 属于醛肟类铜萃取剂。 推断萃取铜的反应式为
[6 ]
:
2RH (org) +Cu
2 + ( l )
? CuR2 (org) +2H+ (l) (1)
其中: RH为萃取剂; CuR2 为萃取剂与铜形成的络合物。 本文用等摩尔系列法验证了其萃合物的组成。
在pH=3的酸度下保持有机相N902和水相初始铜的总摩尔数相等, 依次改变体系中两者的摩尔比, 萃取平衡后测定水相中铜的浓度。 以有机相中铜浓度对摩尔分数作图, 如图1。 当c N902 /c Cu2+ =2/1时, 有机相铜浓度最大, 表明萃取时有机相生成的萃合物中R∶Cu2+ =2∶1。 即萃合物的组成为CuR2 。
2.2 N902萃取铜的性能
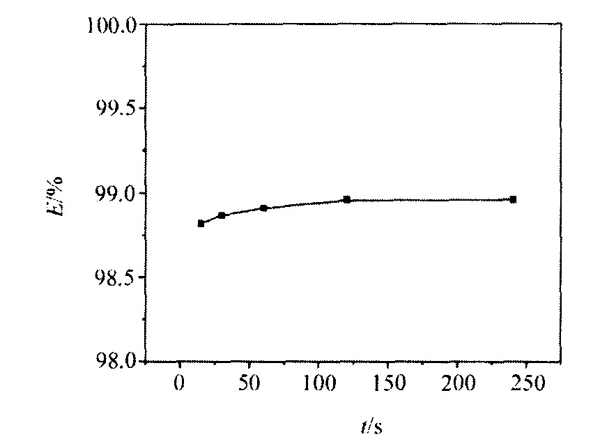
(1) 振荡时间对铜萃取率的影响:
用30%N902萃取[Cu2+ ]=8.5 g·L-1 , [Cl- ]=0.3 mol·L-1 , pH=3的铜溶液, 测定不同振荡时间下铜的萃取率, 结果如图2。由图2可知, 随着时间的增加, 萃取率逐渐增大, 当时间为120 s时, 萃取率已达98.96%, 基本平衡。 说明N902萃取铜是快速反应。
(2) 萃取剂浓度对萃取率的影响:
采用[Cu2+ ]=8.5 g·L-1 , [Cl- ]=0.3 mol·L-1 , pH=3的铜溶液。 萃取时间t =2 min, 考察不同萃取剂浓度对铜萃取率的影响, 结果见图3。 由图3可知, 铜萃取率随萃取剂浓度增加而增大, 当浓度达30%时, 萃取率接近99%, 此后, 再增大浓度, 萃取率增幅不大且萃取剂黏度增大, 流动性变差, 综合考虑萃取剂成本和萃取效果, 后续实验中采用30%的萃取剂浓度。
(3) 氢离子浓度对萃取率的影响:
水相酸度是影响萃取的一个非常重要的因素。 实验用30%的N902萃取[Cu2+ ]=8.5 g·L-1 , [Cl- ]=2 mol·L-1 的铜溶液。 振荡时间t =2 min, 用盐酸调节氢离子浓度, 再用NaCl恒定溶液中的[Cl- ], 考察了不同氢离子浓度对铜的萃取率影响, 结果见图4。 由图4可知, 铜的萃取率随着氢离子浓度增大而降低。 这验证了 (1) 式: 随着氢离子浓度的增加, 平衡向逆反应方向进行, 不利于萃取。 当溶液pH=2~3时, 铜萃取率可达81%以上。 pH值再增大, 溶液出现白色沉淀。 所以实验中调节溶液pH=3。
(4) 铜离子浓度对萃取率的影响:
用30%的N902萃取[Cl- ]=2.5 mol·L-1 , pH=3的铜溶液。 振荡时间t =2 min, 用NaCl调节溶液[Cl- ]恒定, 考察不同铜离子浓度对铜的萃取率影响, 结果见图5。 由图5可知, 萃取率随铜离子浓度增大而降低。 在[Cu2+ ]=8.0 g·L-1 时, 铜萃取率可达97.9%以上。 而[Cu2+ ]>10 g·L-1 后, 降幅明显增大, 且不易分相。
(5) 氯离子浓度对铜萃取率的影响:
用30%的N902 萃取[Cu2+ ]=8.5 g·L-1 , pH=3的铜溶液。 振荡时间t =2 min, 用NaCl改变溶液[Cl- ], 考察不同氯离子浓度对铜的萃取率的影响, 结果见图6。 由图6可知, 铜萃取率随氯离子浓度增大而降低。 可能是由于铜离子与氯离子形成络合物, 后减少了可萃的铜离子浓度。 当[Cl- ]>6 mol·L-1 时, NaCl过饱和析出。
(6) 酸性介质对铜萃取率的影响:
采用30%的N902萃取[Cu2+ ]=8.5 g·L-1 , 介质分别为硝酸、 盐酸和硫酸的溶液。 振荡时间t =2 min, 考察不同阴离子介质对铜萃取率的影响。 结果见图7。 由图
图1 有机相中铜浓度与摩尔分数的关系 Fig.1 Relation of organic copper concentration and molar fraction
图2 不同振荡时间对铜萃取率的影响 Fig.2 Effect of extraction time on percentage extraction
图3 萃取剂浓度对萃取率的影响 Fig.3 Effect of concentration of N902 on percentage extraction
图4 氢离子浓度对铜萃取率的影响 Fig.4 Effect of [H+] on percentage extraction
图5 铜离子浓度对萃取率的影响 Fig.5 Effect of [Cu2+] on percentage extraction
图6 氯离子浓度对萃取率的影响 Fig.6 Effect of [Cl-] on percentage extraction
图7 阴离子介质对萃取率的影响 Fig.7 Effect of different acid media on percentage extraction
图8 不同反萃剂对铜反萃率的影响 Fig.8 Effect of different acid on percentage stripping
7可知, 随着阴离子浓度增加, 铜萃取率均呈下降趋势。 在阴离子浓度很低时, 对铜萃取率的影响差别不是很大; 得出铜萃取率在不同酸性介质中的排序为: SO4 2- >NO3 - >Cl- 。 这可能是氯离子与铜离子易形成络合物, 从而降低了可萃铜浓度; 而硝酸根离子具有氧化性, 对萃取剂有一定的破坏性; 相对较好的则是硫酸介质。
2.3 硫酸反萃N902负载铜有机相的实验
(1) 不同反萃剂对铜反萃率的影响:
分别采用盐酸、 硫酸、 硝酸作为反萃剂, 考察不同浓度下, 反萃N902负载有机相中铜的情况, 结果如图8。 由图8可知, 同浓度的硝酸反萃效果较差, 且硝酸是强氧化剂, 会降解有机相。 同浓度的硫酸和盐酸反萃效果相近, 单级反萃率可达86%以上。 考虑到后续生产硫酸铜的方便, 所以实验采用硫酸作反萃剂。
(2) 硫酸浓度对铜反萃率的影响:
采用相比 (O/A) =1∶1, 反萃时间t =2 min, 用不同浓度的硫酸对N902负载铜的有机相进行反萃, 考察硫酸浓度对铜反萃率的影响, 结果如图9。
由图9可知, 反萃率随硫酸浓度增加而增大, 当[H2 SO4 ]=4 mol·L-1 时, 反萃率>86%, 且分相迅速 (约50 s) 。 再增加酸度反萃率增幅减缓, 分相变慢 (6 mol·L-1 H2 SO4 约3 min) 。 当硫酸浓度大于6 mol·L-1 时, 出现第三相。 因此, 选用4 mol·L-1
图9 硫酸浓度对反萃率的影响 Fig.9 Effect of sulphuric acid concentration on percentage stripping
的硫酸作反萃剂较为适宜。 之后, 又用4 mol·L-1 硫酸反萃负载有机相两级, 总反萃率可>93%。
3 结 论
1. 用30%的N902萃取盐酸介质中的铜, 当铜的浓度为8.5
g·L-1 时, 萃取率可达98.96%。 随着氢离子、 氯离子浓度的增加, 萃取率下降。
2. 用4
mol·L-1 硫酸反萃负载铜有机相, 反萃率>86%。
参考文献
[1] Tony Moore, Brian Townson, Charles Maes.浓料液中铜的溶剂萃取[J].有色金属 (冶炼部分) , 2000, 3:5.
[2] Kyuchoukov G.从盐酸溶液中回收铜的新方法[J].湿法冶金, 1992, 4:31.
[3] 张秀英, 尹国寅, 汤俊明.新型萃取剂CA-12萃取镓 (Ⅲ) 的研究[J].稀有金属, 2002, 26 (1) :65.
[4] 陈彦国.D 2EHDTPA萃取蛇纹石中钯的研究[J].稀有金属, 2004, 28 (2) :432.
[5] 朱萍, 古国榜, 陈剑波.正丁基苯并噻唑硫醚萃取分离钯、铂的研究[J].稀有金属, 2003, 27 (4) :474.
[6] Alguacil F J, Cobo A, Alonso M.Copper separation from nitrate/ni-tric media using Acorga M5640 extractant Part 1:Solvent extractionstudy[J].Chemical Engineering Journal, 2002, 85 (2-3) :259.
[7] Alguacil F J, Cobo A.Extraction of nickel from ammoniacal/ammo-nium carbonate solutions using Acorga M5640 in Iberfluid[J].Hy-drometallgy, 1998, 50 (2) :143.