J. Cent. South Univ. (2012) 19: 1902-1908
DOI: 10.1007/s11771-012-1224-x
Peak-to-average power ratio reduction using selective mapping with unequal power distribution
E. S. Hassan1, XU Zhu2, S. E. El-Khamy3, M. I. Dessouky1, S. A. El-Dolil1, F. E. Abd El-Samie1
1. Department of Electronics and Electrical Communications, Faculty of Electronic Engineering,
Menoufia University, Menouf 32952, Egypt;
2. Department of Electrical Engineering and Electronics, The University of Liverpool, Liverpool L69 3GJ, UK;
3. Department of Electrical Engineering, Faculty of Engineering,Alexandria University, Alexandria 21544, Egypt
? Central South University Press and Springer-Verlag Berlin Heidelberg 2012
Abstract: A new approach for peak-to-average power ratio (PAPR) reduction in orthogonal frequency division multiplexing (OFDM) systems was proposed. This approach is based on assigning powers to the different subcarriers of OFDM using an unequal power distribution strategy. In addition, a reduced complexity selective mapping (RC-SLM) scheme was proposed. The proposed scheme is based on partitioning the frequency domain symbol sequence into several sub-blocks, and then each sub-block is multiplied by different phase sequences whose length is shorter than that used in the conventional SLM scheme. Then, a kind of low complexity conversions is used to replace the IFFT blocks. The performance of the proposed RC-SLM scheme along with the new approach was studied with computer simulation. The obtained results show that the proposed RC-SLM scheme is able to achieve the lowest computational complexity when compared with other low complexity schemes proposed in the literature while at the same time improves the PAPR reduction performance by about 0.3 dB.
Key words: orthogonal frequency division multiplexing (OFDM); peak-to-average power ratio (PAPR); computational complexity; selective mapping scheme
1 Introduction
Orthogonal frequency division multiplexing (OFDM) has become a popular modulation method in high-speed wireless networks. It splits up a wide-band signal into several subcarrier streams, and thus a wide-band frequency-selective fading channel can be converted into narrowband flat fading sub-channels. A high spectral efficiency can be expected by allowing overlapped orthogonal subcarriers in the frequency domain [1-2]. However, OFDM communication systems suffer from a major drawback at the transmitter which is the high peak-to-average power ratio (PAPR) of the transmitted signals. The large peaks at the transmitter occasionally force its amplifier into saturation and result in signal distortion, and hence a degradation in the system performance. Accordingly, there have been several PAPR reduction schemes such as clipping, coding, tone reservation, tone injection, and various combinations of them [3-5]. Unfortunately, most of these schemes are unable to achieve a large reduction in the PAPR with a low complexity, low coding overhead, and without performance degradation.
The SLM scheme is one of the most effective PAPR reduction schemes in OFDM systems. It was shown that the SLM scheme can achieve several decibels of PAPR reduction and hence significantly improves the transmission power efficiency [6-9]. The major disadvantages of this scheme, however, are as follows. First, the transmission of side information bits in order to
enable the receiver to recover the transmitted data blocks. These redundant bits reduce the system bandwidth efficiency. The second disadvantage is that it requires a bank of inverse fast Fourier transforms (IFFTs) to generate a set of candidate transmission signals, and this requirement usually results in high computational complexity. In Ref. [9], we propose a small overhead (s-SLM) scheme which improves the system bandwidth efficiency and achieves a significantly lower bit error rate (BER). In this work, we will focus on the second disadvantage which is the high computational complexity. There have been various techniques for reducing the complexity of PAPR calculations using SLM scheme. A class of technique was focused on the reduction of complexity through the manipulation of IFFT blocks [10-11]. Another approach of complexity reduction uses coding techniques [12]. However, these techniques achieve PAPR performance worse than the conventional SLM scheme. Moreover, these techniques [3-12] have been proposed based on the assumption that
all subcarriers are active and allocated equal powers. In this work, we propose a reduced complexity SLM (RC-SLM) scheme in OFDM systems. This scheme is based on assigning powers to the different subcarriers of OFDM using an unequal power distribution strategy. And the performance of the proposed RC-SLM scheme is studied with computer simulation.
2 System model
2.1 OFDM system model and PAPR definition
In OFDM-based systems, the information bit stream is divided into blocks which are then mapped onto complex-form information symbols using a certain modulation scheme, such as phase shift keying (PSK) or quadrature amplitude modulation (QAM), to create a complex valued symbol block X. Let us denote the data block of length K as a vector X = [X0, X1,…, XK-1]T with K represents the number of subcarriers and (·)T denotes the matrix transpose. The equivalent complex baseband OFDM signal can be expressed as
(1)
where Xk is the data symbol carried by the k-th subcarrier, T is the OFDM symbol duration, 0≤t≤T, and Δf=1/T is the frequency difference between subcarriers. Since OFDM signals are modulated independently in each subcarrier, the combined OFDM signals are likely to have large peak powers at certain instances. The PAPR (RPP) of the transmitted OFDM signal in Eq. (1) can be expressed as
(2)
where E[·] is the expected value. The numerator in Eq. (2) represents the maximum envelope power while the denominator represents the average power. However, as most systems employ discrete time signals, the transmitted discrete time signal x[n] is usually generated by sampling the continuous time signal x(t). Hence, x(t) is usually oversampled by a factor J to have a better estimation of the PAPR value of x[n]. It was shown in Ref. [13] that an oversampling factor of J=4 is sufficient to approximate the true PAPR.
2.2 Conventional SLM scheme
In the conventional SLM scheme, the transmitter generates a set of sufficiently different candidate data blocks, all representing the same information as the original data block, and selects the most favorable one for transmission [9]. Each data block is multiplied element by element by V different phase sequences, each of length K, where, B(v) = [bv, 0, bv, 1, …, bv, K–1]T is the phase rotation vector, v=1, 2, …, V, resulting in V modified data blocks. To include an unmodified OFDM data block in the set of the modified data blocks, we set B(1) as the all-one vector of length K. A block diagram of the conventional SLM scheme is shown in Fig. 1.
After multiplication of X by the phase sequences, the multicarrier signal becomes
X(v)=X·B(v), 1≤v≤V (3)
To simplify the array multiplication in Eq. (3), we choose the elements bv,k, k=0, 1,…, K-1 in the phase rotation vector B(v) from the set {±1, ±j}. Among the modified data blocks, the block x(u) with the lowest PAPR is selected for transmission. One of the major disadvantages of this scheme, however, is that it requires the transmission of SI about the selected phase sequences to the receiver to allow it to retrieve the original data blocks. In Ref. [9], we propose a small overhead (s-SLM) scheme which improves the system bandwidth efficiency and achieves a significantly lower BER. The second disadvantage of the conventional SLM scheme and the focus of this work is the high computational complexity.
For practical implementation, the conventional SLM scheme needs V-IFFT operations, and the number of the required SI bits is NSI =[log2V] for each data block, where [x] denotes the smallest integer greater than or equal to x. The amount of PAPR reduction in the SLM scheme depends on the number of the phase sequences V and their design. Selecting the symbol with the lowest PAPR for transmission, the probability that the PAPR exceeds a certain value of R0, according to Ref. [9], is given by
(4)

Fig. 1 Block diagram of conventional SLM scheme
2.3 PAPR for unequal power distribution
The PAPR distributions presented in Eq. (4) and in Refs. [3-12] are obtained under the assumption that all subcarriers are active and allocated equal power. This assumption may be not valid due to the following facts. Firstly, in all realistic OFDM systems, usually only a subset of subcarriers is used to carry information (active subcarriers) and the other subcarriers (inactive subcarriers) are set to be zero. Secondly, due to the efficiency considerations, transmission power should be
allocated to active subcarriers. Thirdly, power allocation may vary depending on the different constellations used by the different active subcarriers and their signal-to-noise-ratios (SNRs).
In this subsection, we present a new approach for PAPR reduction in OFDM systems. This approach is based on assigning powers to the different subcarriers of OFDM using an unequal power distribution strategy. The OFDM symbol structure of the new approach consists of three types of subcarriers, as shown in Fig. 2: Data subcarriers for data transmission, pilot subcarriers for channel estimation and synchronization, and null subcarriers for guard bands. The data and pilot subcarriers represent the active subcarriers with Kactive denoting their number. The null subcarriers are named as inactive subcarriers with Kinactive denoting their number. If the subcarrier at DC is nonzero, it is active; otherwise it is inactive. For example, in the IEEE 802.11a standard, out of all 64 subcarriers, only 52 subcarriers are active (data and pilots subcarriers) and the remaining 12 subcarriers are inactive [14].
In this case, the equivalent complex baseband OFDM signal given in Eq. (1) can be rewritten as
(5)
where K= Kactive+Kinactive. In Eq. (5), N=Kactive/2 if the subcarrier at DC is inactive; otherwise, N=(Kactive-1)/2 if the DC subcarrier is active.
Let Pk be the power allocated to the k-th subcarrier. In this work, we assume that equal powers are allocated to active subcarriers, and thus Pk=constant. Therefore, when all active subcarriers are allocated equal power, Eq. (4) can be rewritten as
(6)
Note in Eq.(6) we assume that the subcarrier at DC is inactive.
3 Proposed RC-SLM scheme
It is clear from Fig. 1 that, the conventional SLM scheme requires a large amount of IFFT calculations and multiplications with phase sequences which are proportional to the number and the length of the phase sequences. To reduce the complexity of the conventional SLM scheme, WANG and OUYANG [11] developed conversion matrices (originated or modified from some phase rotation vectors of period four) to replace more IFFT blocks in the conventional SLM scheme. For an OFDM system with K subcarriers and J times oversampling, these conversion matrices can replace some of the IFFT blocks in the conventional SLM method, where each conversion process requires only 3JK complex additions to compute a JK-point IFFT. As compared to the conventional SLM scheme, the approach in Ref. [11] reduces the computational complexity but with performance degradation in terms of PAPR reduction and BER performance.
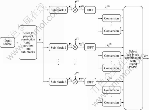
In our proposed RC-SLM scheme, the computational complexity reduction is based on reducing both the length of the phase sequences and the number of IFFT calculations. The length of the phase sequences can be reduced by partitioning the frequency domain symbol sequence X into L sub-blocks of length M=K/L. Then, each sub-block is multiplied by different phase sequences, p(m), whose length is M which is shorter than that used in the conventional SLM scheme. As a result, compared with the approaches proposed in Refs. [10-11], the K-point IFFT is replaced by M-point IFFT and the computational complexity can be reduced considerably.
Then, we use a kind of low complexity conversion [10-11] to replace the IFFT blocks. Each conversion process requires only 3JK complex additions to compute a JK-point IFFT. With these conversion matrices, we can use only one IFFT output to generate other candidate signals. Finally, the PAPR is calculated for all the sub-block combinations and the subblock combination whose sum exhibits the lowest PAPR is selected for transmission as in the conventional SLM scheme. A block diagram of the proposed RC-SLM scheme is shown in Fig. 3.

Fig. 2 OFDM symbol structure with unequal power distribution strategy
The low complexity conversion or transformer used in Fig. 3 is named “Replacement conversion (R)”. This conversion is used to replace the IFFT block in the conventional SLM scheme. The idea of this conversion is similar as that explained in Ref. [11]. As shown in Fig. 4, the signals x1 and x2 are the IFFT of X1 and X2, respectively, with X1=X·p(1) and X2 =X·p(2) and p(m) is the phase rotation vector whose length is M. In this conversion, we use one IFFT output, x1, to get another IFFT output, x2, as follows:
x1=IFFT{X1}=WX1=W·X·p (7)
x2=IFFT{X2}=WX2=W·X·p (8)
W represents the IFFT matrix as follows:
(9)
In Eq. (9), WM = exp{j2π/M}. As in subsection 2.2, we usually use p(1) as the all-one vector of length M to include an unmodified OFDM data sub-block in the set of the modified data subblocks. In Eq. (7), substituting for p(1) with all one vector results in
x1=IFFT{X1}=WX1=W·X (10)
From Eq. (10), we can write
X=W-1x1 (11)
with W-1 represent the FFT matrix. Using Eq. (11), Eq. (8) can be rewritten as
x2=WW-1x1p(2)= IM x1p (12)
where IM is the identity matrix. The above discussion means that, the next candidate can be obtained simply by using the conversion, R, which is simply equivalent to multiplying the signal x1 with the identity matrix IM and then by the next phase sequence. The n-th candidate can be rewritten as
xn=W·W-1x1p(n)= IM x1p (13)

Fig. 3 Block diagram of proposed RC-SLM scheme

Fig. 4 Conversion replacement for IFFT computation
4 Computational complexity comparison
It is well known from the literature that a JK-point IFFT requires (JK/2log2JK) numbers of complex multiplication and (JKlog2JK) numbers of complex addition. Therefore, the conventional SLM, C-SLM scheme with V individual phase sequences requires V IFFT operations. This means that the total number of multiplication Nm and addition Na in the conventional SLM scheme can be expressed as [15]
(14)
Na, C-SLM=VJKlog2JK (15)
The second term in Eq. (14) represents the amount of multiplication of data vector X with V phase sequences before IFFT stages.
On the other hand, in the case of the proposed RC-SLM scheme, as shown in Fig. 3, there are L sub-blocks each that require one multiplication to get the phase modulated data before the IFFT stage and one IFFT stage per sub-block. The conversion R requires 3JM complex additions and zero multiplications [11]. For V phase sequences, there are (V-1) numbers of conversion R required per sub-block. According to this discussion, the total number of multiplication Nm and addition Na in the proposed RC-SLM scheme can be expressed as
(16)
(17)
Let us now compute the computational complexity reduction ratio (CCRR) of the proposed RCSLM scheme over the conventional C-SLM scheme which is defined as
(18)
Figure 5 shows a comparison between the proposed RC-SLM scheme and the conventional SLM scheme in terms of the total number of complex operations. The used parameters in this figure are as follows: J=4, V=4 and L=2. It is clear that, the proposed RC-SLM scheme has much lower complexity than the conventional SLM. For example, at K=512, the proposed RC-SLM scheme achieves 77.3% and 53% reduction of the number of required multiplications and additions, respectively, when compared with the conventional SLM scheme.

Fig. 5 Comparison between proposed RC-SLM scheme and conventional SLM scheme in terms of total number of complex operations
Figure 6 shows a comparison between the proposed RC-SLM scheme and the schemes proposed in Refs. [11, 15] in term of total number of complex operations. It is clear that the proposed RC-SLM scheme has the lowest computational complexity when compared to the other schemes.

Fig. 6 Comparison between proposed RC-SLM scheme and schemes proposed in Refs. [11, 15] in terms of total number of complex operations
The CCRR of the proposed RC-SLM scheme over the conventional C-SLM scheme for different values of V is given in Table 1, using K=128, J=4, L=2, and M=64. Here, we assume that the two schemes generate the same numbers of candidates. It is shown in Table 1 that, the number of multiplication in the proposed RC-SLM scheme does not depend on the number of phase sequences, V. Moreover, the computational complexity of the RC-SLM scheme is reduced rapidly with the increase of V.
Table 2 gives the CCRR of the proposed RC-SLM scheme over the conventional C-SLM scheme for different values of L using K=128, J=4, and V=4. It is clear that, the computational complexity of the proposed RC-SLM scheme is still lower than that of the conventional C-SLM scheme even for large value of L.
Table 1 CCRR of proposed RC-SLM scheme over C-SLM scheme in terms of V

Table 2 CCRR of proposed RC-SLM scheme over C-SLM scheme in terms of L

5 Simulation results and discussion
The PAPR reduction performances of the conventional SLM and the proposed RC-SLM schemes were investigated theoretically and by computer simulations. The OFDM system used for simulations has K=128 subcarriers, QPSK modulation, and 20 MHz bandwidth. The performance is evaluated in terms of complementary cumulative distribution function (CCDF) and by using an oversampling factor of J=4. The phase rotation vectors used in the simulation are randomly generated, i.e., their elements are randomly selected from the set {±1, ±j}. Here, we assume that the two schemes use the same numbers of candidates. The number of phase sequence candidates, V, and the number of sub-blocks, L, are changed during the simulation.
Figure 7 shows the performance of the conventional C-SLM scheme with the unequal power distribution strategy explained in Subsection 2.3. Usually, Kactive is about 3K/4, N=Kactive/2 if the subcarrier at DC is inactive i.e., N≈3K/8 [16]. Note that, System 1 represents the C-SLM scheme in which the PAPR distributions are obtained under the assumption that all subcarriers are active and allocated equal power as in Eq. (4) and in Ref. [3-12]. While System 2 represents the C-SLM scheme with the unequal power distribution strategy.

Fig. 7 Performance of conventional C-SLM scheme with equal and unequal power distribution strategy
The obtained results in Fig. 7 show that, the new approach with unequal power distribution strategy can improve the PAPR reduction performances. Further improvements can be obtained by increasing the number of phase sequence candidates, V. For example, at Prob(R>R0)=10-3 and V=8, the C-SLM System 2 scheme can achieve about 0.5 dB more PAPR reduction when compared with the C-SLM System 1 scheme.
Figure 8 shows the PAPR performance of the proposed RC-SLM scheme with various (L, V) combinations. The unmodified OFDM system and the conventional SLM scheme are used for comparison. It is clear that, the proposed RC-SLM scheme with L=2 and V=4 (i.e., with more candidates) achieves better performance than the one with L=4 and V=2. It also outperforms the conventional C-SLM scheme. In the following results we will use L=2 and V=4.
Figure 9 shows a performance comparison between the proposed RC-SLM scheme with unequal power distribution strategy using L=2 and the conventional C-SLM scheme. It is clear that, the proposed RC-SLM scheme outperforms the conventional C-SLM scheme in terms of PAPR reduction performance. For example, at Prob(R>R0)=10-3 and V=8, the proposed RC-SLM scheme provides PAPR performance improvements of about 0.3 dB over the conventional C-SLM scheme. Unlike the low complexity schemes presented in Refs. [10-11, 17], which achieve low computational complexity at the cost of PAPR reduction performance. The proposed RC-SLM scheme is shown to be able to achieve the lowest computational complexity when compared with Refs. [11, 15] while at the same time improves the PAPR reduction performance by about 0.3 dB.

Fig. 8 PAPR performance of proposed RC-SLM scheme with various (L, V) combinations

Fig. 9 Comparison between proposed RC-SLM scheme using L=2 and conventional SLM scheme in terms of CCDF
As conventional SLM scheme, the proposed RC-SLM scheme needs to transmit side information (SI) bits to indicate which phase sequence is selected at the transmitter to enable the receiver to recover the transmitted data blocks. In Ref. [9], we propose a small overhead (s-SLM) scheme which improves the detection probability of the SI bits and hence gives a better BER performance. We can apply this scheme to ensure the correct detection of the SI bits. In this work, we assume that SI bits can be correctly detected at the receiver.
6 Conclusions
A reduced complexity selective mapping (RC-SLM) scheme was proposed. The proposed scheme is based on partitioning the frequency domain symbol sequence into several sub-blocks to reduce the length of the phase sequences, then using a kind of low complexity conversions to replace the IFFT stages. The performance of the proposed RC-SLM scheme along with unequal power distribution strategy was studied with computer simulation. The obtained results show that the proposed RC-SLM scheme is able to achieve the lowest computational complexity when compared with other low complexity schemes proposed in the literature while improves the PAPR reduction performance by about 0.3 dB at the same time.
References
[1] NEE R V, PRASAD R. OFDM for wireless multimedia communications [M]. Artech House, 2000: 33-62.
[2] SCHULZE H, LUDERS C. Theory and application of OFDM and CDMA wideband wireless communication [M]. John Wiley, 2005: 145-263.
[3] HAN S, LEE J. An overview of peak-to-average power ratio reduction techniques for multicarrier transmission [J]. IEEE Trans on Wireless Commun, 2005, 12: 56-65.
[4] SLIMANE S B. Reducing the peak-to-average power ratio of OFDM signals through precoding [J]. IEEE Trans on Veh Techn, 2007, 56: 686-695.
[5] KOHANDANI F, KHANDANI A. A new algorithm for peak/average power reduction in OFDM systems [J]. IEEE Trans on Brodcasting, 2008, 54: 159-165.
[6] HASSAN E S, EL-KHAMY S E, DESSOUKY M I, EL-DOLIL S A, ABD EL-SAMIE F E. A simple selective mapping algorithm for the peak to average power ratio in space time block coded MIMO-OFDM systems [C]// Proc HPCNCS-08. Orlando, FL, USA, 2008: 103-106.
[7] LEE Y, YOU Y, JEON W, PAIK J, SONG H. Peak-to-average power ratio in MIMOOFDM systems using selective mapping [J]. IEEE Comm Letters, 2003, 7: 575-577.
[8] CHEN H, LIANG H. Combined selective mapping and binary cyclic codes for PAPR reduction in OFDM systems [J]. IEEE Trans on Wireless Comm, 2007, 6: 3524-3528.
[9] HASSAN E S, EL-KHAMY S E, DESSOUKY M I, EL-DOLIL S A, ABD EL-SAMIE F E. Peak-to-average power ratio reduction in space-time block coded multi-input multi-output orthogonal frequency division multiplexing systems using a small overhead selective mapping scheme [J]. IET Commun, 2009, 3(10): 1667-1674.
[10] YANG L, SOO K, SIU Y M, LI S Q. A low complexity selected mapping scheme by use of time domain sequence superposition technique for PAPR reduction in OFDM system [J]. IEEE Transactions on Broadcasting, 2008, 54(4): 821-824.
[11] WANG C, OUYANG Y. Low-complexity selected mapping schemes for peak-to-average power ratio reduction in OFDM systems [J]. IEEE Trans Signal Process, 2005, 53(12): 4652-4660.
[12] JIE Y, LEI C, QUAN L, DE C. A modified selected mapping technique to reduce the peak-to-average power ratio of OFDM signal [J]. IEEE Transactions on Consumer Electronics, 2007, 53(3): 846-851.
[13] TELLAMBURA C. Computation of the continuous-time PAR of an OFDM signal with BPSK subcarriers [J]. IEEE Commun Lett, 2001, 5(5): 185-187.
[14] JIANG T, GUIZANI M, CHEN H, XIANG W, WU Y. Derivation of PAPR distribution of the peak-to-average power ratio in OFDM signals [J]. IEEE Trans on Wireless Comm, 2008, 7: 1298-1305.
[15] ALSUSA E, YANG L. Selective post-IFFT amplitude randomising for peak-to-average power ratio reduction in orthogonal frequency-division multiplexing based systems [J]. IET Commun, 2008, 2(4): 553-561.
[16] HASSAN E S, EL-KHAMY S E, DESSOUKY M I, EL-DOLIL S A, ABD EL-SAMIE F E. Peak to average power ratio reduction for OFDM signals with unequal power distribution strategy and the selective mapping technique [C]// Proc NRSC-2010. Egypt, 2010: 1-9.
[17] WANG S, LI C. A low-complexity PAPR reduction scheme for SFBC MIMO-OFDM systems [J]. IEEE Signal Proc, 2009, 16(11): 941-944.
(Edited by YANG Bing)
Received date: 2011-03-29; Accepted date: 2012-03-24
Corresponding author: E. S. Hassan; E-mail: eng_emadash@yahoo.com