含三维内置断裂面新型材料断裂体破裂过程研究
付金伟1,朱维申1, 2,雒祥宇1,李勇1,周浩1,张敦福1
(1. 山东大学 岩土与结构工程研究中心,山东 济南,250061;
2. 中国科学院 武汉岩土力学研究所 岩土力学与工程国家重点实验室,湖北 武汉,430071)
摘 要:
含裂隙的岩石类材料难以直接观测其破裂过程和开展含三维裂隙试验的复杂性等原因,目前含三维断裂面岩体的破裂研究还处于初期阶段。研制一种完全透明、在较低温度下拉压强度比可达1/6.6的树脂材料,其与岩石特性的相似性比前人有大幅度提高。建立一整套可制作含多断裂面试件的工艺流程和相应的模具及技术,并初步开展含单个和双个内置椭圆形断裂面试件在单轴加载下的试验。研究次生裂纹扩展和试件破裂规律与应力-应变关系。试验结果表明:试件的破裂大致经历4个阶段。含三维断裂体试件的破裂比二维情况复杂得多,产生多种不同形态的新裂纹。
关键词:
脆性透明材料;特殊工艺流程;三维内置断裂面;次生裂纹扩展;破裂规律;
中图分类号:TU443 文献标志码:A 文章编号:1672-7207(2014)09-3257-07
Study on failure process of fractured rock by using a new material containing three-dimensional internal fracture surfaces
FU Jinwei1, ZHU Weishen1, 2, LUO Xiangyu1, LI Yong1, ZHOU Hao1, ZHANG Dunfu1
(1. Research Centre of Geotechnical and Structural Engineering, Shandong University, Jinan 250061, China;
2. State Key Laboratory of Geomechanics and Geotechnical Engineering, Institute of Rock and Soil Mechanics,
Chinese Academy of Sciences, Wuhan 430071, China)
Abstract: As it is difficult to observe the failure process directly and carry out the tests on opaque rock-like materials with built-in 3D cracks, in geophysical and geomechanical field, the study on the failure of fracture surface is still in its early stage. A new transparent material whose tension-compression strength ratio can reach 1/6.6 at low temperature was developed. Its properties are more similar to the rock than previous materials made by scholars. A set of technological process and casting mould which makes specimens with multi cracks was developed and the tests under uniaxial compression were conducted. Besides, the stress-strain relationship, the propagation process of secondary cracks and the regularity of the fracture of specimens were studied as well. The results show that the destruction of the specimens goes through about four stages before the fracture of specimen. Many different fracture characters for the specimens with 3D cracks, which are much more complex than that of with 2D cracks are discovered.
Key words: transparent and brittle material; special technology process; prefabricated 3D crack; secondary crack propagation; failure law
地层中的岩石是经历了漫长地质构造作用的地球介质,也是由多种缺陷如断层、破裂面和节理等组成的复合性介质。在外荷载作用下,岩石内部缺陷的扩展及相互作用决定了岩层和岩石的宏观变形和破坏的性质。因此,研究受压含断裂面岩石或岩体破裂过程中出现的各种物理效应不仅对了解固体破裂机制有重要价值,而且对理解地震过程中断层的破裂和错动规律具有重要意义,对许多岩石工程也具重要价值。前人[1-4]曾通过多种途径,如模型试验法、岩石试件法,并采用许多物理探测法,如电阻率法、声发射和许多数值模拟法,如RFPA和PFC软件等,来研究岩石受力后的断裂面扩展和破裂模式,并进一步对地震活动的成因或工程稳定性进行探索和研究。但由于开展含三维裂隙试验的复杂性和不透明的岩石类材料难以直接观测内部破裂过程等原因,含内置三维裂隙组的岩石,其扩展与贯通过程的试验结果发表的还很少。以往的研究一般是在平板岩石样品上预制穿透切缝,研究在单轴或双轴加载条件下单裂隙或多裂隙条件下的扩展过程及伴随的物理现象,取得了许多有意义的结果[5-8]。有关三维裂隙和表面裂隙扩展的试验研究也取得了一些初步性结果,并描述了单一裂隙或多条表面裂隙三维裂纹断裂的基本特征[9-12]。近年来,人们开展了一些三维裂隙的扩展试验或初步的数值模拟[13-16]。他们利用多种岩石、陶瓷、有机玻璃、树脂和石膏等模拟材料制作了含有预制三维裂纹的样品,研究了裂隙走向变化和裂隙深度变化对裂纹扩展形态的影响等问题,并得到了一些基本认识。在透明材料中,前人所采用材料的脆性度,如Adams等[9]和Dyskin等[10]选用的CR-39树脂在-17 ℃下拉压比只能达到1/3,黄明利等[13]选用的有机玻璃在-50 ℃下拉压强度比也只能达到1/3,远不能满足类岩石材料的脆性特征。郭彦双等[14]寻找到-20 ℃下拉压比能达到1/5的不饱和聚酯树脂,脆性程度有所提高,但透明性还较差。而本文经过长期配方试验,首次配比出较低温度下拉压强度比(定义为脆性度)可达到1/6.6的混合树脂材料,更为接近某些真实岩石的脆性度,如砂岩等,而且透明性有了大幅度提高。可以全程观察试件内部裂纹的萌生、扩展演化过程。这为研究真实岩石的裂隙扩展提供了良好的条件。本文作者研制的新型类岩石透明脆性材料,可研究含多条不同排列三维内置裂隙试件的断裂面扩展机理和强度特性。开发了多裂隙预置工艺和技术,如在真空抽气机中对搅拌的树脂进行抽真空处理,大为提高了透明度;将预置裂隙片由以前的金属薄片改为云母片,以便更加接近真实的薄弱面。制作出可拆装的加工模具。在相当大程度上弥补了前人试验研究中的不足,这些工作应认为是近年这一领域的重要新进展。这对今后相关的实验研究、理论分析和在地学及工程领域的应用具有较大的促进意义。
1 含三维裂隙树脂试件的材料调配及实验设计
1.1 脆性透明树脂材料的调配
用来模拟多裂隙岩体的材料,其力学特性必须尽量接近脆性岩石,且需能在足够大的试块中模拟有一定排列模式的多条内置断续节理。采用树脂类材料是一个重要选项。树脂材料是由树脂、固化剂和促进剂等按一定比例拌合而成的,温度和配比是对树脂材料力学性能影响最大的2个重要因素。
通过大量试验,研究对比了不同温度和配比下的材料力学特性,获得了脆性度良好的改性树脂。现用方案包含型号为C的环氧树脂, 可制作含二维或三维裂隙的块体试件。其材料如图1所示。

图1 配置相似材料的环氧树脂及配料
Fig. 1 Epoxy resin and burden used to configurate similar materials
C型树脂为中温固化环氧树脂系统的一种,白色透明液体,具有粘度低、常温下性能(物理化学性质等)稳定等特点;固化后强度高;系统的活性可通过不同的固化剂配比调节。一般来说,树脂在指定的安全措施下使用,是无害的;但由于固化剂有刺鼻的气味,毒性较高,所以试验室需保持良好的通风性。C型树脂试件的力学性能如表1所示。可看出其力学性能与多种岩石的参数是接近的。
1.2 预置内置三维裂隙的制作方法及材料选取
预置裂隙的制作方法主要有预埋薄片法、薄片抽条法、切割法和弯曲预裂法等;其选材主要有薄金属片(铜片、铝片等)、聚乙烯薄片、云母片等。此处为了模拟试样内部闭合裂隙,采取预埋薄片法,选用的是厚度较薄的云母片。与其他材料相比,云母片刚度低,不会约束试件变形、方便裂隙的定位且更接近赋存于岩体中的裂隙。并制作了3种尺寸的椭圆形钢模具,此处试验则将云母片裁制为尺寸为椭圆形预制裂隙。
表1 新型树脂试件的力学性能
Table 1 Mechanical parameters of new resin specimen

1.3 模具和裂隙的预置方案
模具尺寸(长×宽×高)为50 mm×50 mm×100 mm,如图2所示,一个预置好三维裂隙的模具。由5块有机玻璃板组成,通过有机绝缘硅脂密封形成一个整体,模具良好的透明性使得可以直接观察到试件的整个固化过程。试件固化后即可拆卸,在浇筑之前内壁必须涂抹脱模剂,便于拆模。左右两侧板面上钻出不同位置的孔,通过柔软的细线牵拉和固定而形成不同角度、不同类型的裂隙组合体。该模具可以制作出不同条数、不同错距的三维裂隙试件。三维裂隙的定位需在浇注材料前。通过研制的模具可以制作不同角度、不同数目和不同相对位置的含三维裂隙(组)试件。
2 试验结果分析
2.1 单轴加载下含单条内置裂隙试件破坏过程
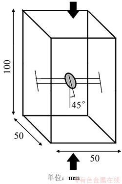
试件尺寸和预制裂隙倾角见图3,预制裂隙则为20 mm×15 mm的椭圆形,位于试件中心。裂隙扩展过程如图4所示,全程应力–应变曲线如图5所示。

图2 新型改进模具
Fig. 2 New improved mould

图3 内置单裂隙试件示意图
Fig. 3 Sample sketch and distribution of single-cracked specimen

图4 试件裂纹扩展过程
Fig. 4 Crack propagation process of specimen

图5 试件的全程应力-应变曲线
Fig. 5 Stress-strain curves of specimen
图6所示为Dyskin的单轴实验结果[14],图7所示为Adams的预测模型图[13]。试件的裂隙扩展过程经历了裂隙压密、弹性变形、裂纹扩展、裂纹加速扩展导致试件整体失稳等4个阶段,分析如下:
1) 第1阶段(OA段)为初始压密阶段。应力从0 Pa到峰值强度的9.2%。
2) 第2阶段(AB段)为弹性变形阶段。应力从峰值强度的9.2%到峰值强度的65.1%,轴向应变和应力近似线性增长。在峰值强度的48.1%时,预制裂隙的上端部有翼裂纹萌生,之后,预制裂隙上下端部均生成翼裂纹,且扩展规模都近似同步。先各自在预制裂隙长轴端部形成小的包裹状翼状破裂面,然后,扩展面由长轴端部向短轴端部扩展,形成一定的包裹式翼裂纹,此阶段结束时,如图4(a)所示,这与Dyskin实验观察到的结果相似(图6),即预制裂隙上下端部均产生包裹式翼裂纹。
3) 第3阶段(BC段),应力从峰值强度的65.1%到峰值强度的87.2%,应力-应变曲线变缓,花斑形裂纹在此阶段产生。此阶段某时刻状态如图4(b)所示。此时,在预制裂隙上端的包裹式翼裂纹两侧附近,分别有1个和2个特别明显的花斑形裂纹;而预制裂隙下端,与包裹式翼裂纹两侧紧邻,各有1个相对较小的花斑形裂纹。值得注意的是,花斑形裂纹并不是沿着预制裂隙边缘,而是从萌生时刻起,其走向(从预制裂隙内部向外探伸)就与预制裂隙边缘存在一定夹角,但夹角较小,仅30°左右。验证了Adams提出的预测模型图(图7)。继续加载,包裹式翼裂纹沿着裂隙边缘,以卷曲面的方式向远离预制裂隙的方向扩展,成为规模更大的对称的花瓣形裂纹。
4) 第4阶段(CD段)为裂纹加速扩展阶段。此阶段试件强烈扩容,应力从峰值强度的87.2%到试件破坏。此时花瓣形裂纹和竖直型裂纹继续沿着加载方向扩展,试件承载力开始下降。同时听到试件发出密集的噼啪声。竖直型大裂纹形成宏观破裂面最终将试件劈开,呈现脆性劈裂破坏。
与前人的试验结果相比,Dyskin仅论述了试件在第2阶段的破坏图像(图6),Adams也仅通过理论分析推测出了单裂隙的后期扩展状态(图7),而本文对整个试验过程进行了完整的论述,且有明确的破坏过程图片。

图6 Dyskin的单轴实验结果[11]
Fig. 6 Dyskin’s uniaxial experimental results[11]

图7 Adams的预测模型图[9]
Fig. 7 Adams’s prediction model[9]
上述4个阶段与一般岩石试验时的4个阶段基本相对应。说明本树脂材料与岩石的特性很相近。
2.2 单轴加载下有一定错距平行双裂隙组试件破坏过程
试件的尺寸与单裂隙的工况完全相同,预制裂隙为18 mm×12 mm的椭圆形;但两裂隙的形心不在同一垂线上,存在一定错距,可将试件沿椭圆长轴作剖面图,如图8所示。试验中为了拍摄效果的需要,采取的是制做一组完全相同的试件,将其各自加载到某一破裂状态后卸载并取出拍照,通过相互对比可排除偶然性,并归纳出试件破坏现象和规律。裂隙扩展过程如图9所示,图10所示为试件的全程应力-应变曲线。其全程应力-应变曲线则由一个试件的全程压缩过程获得。

图8 内置双裂隙试件示意图(单位:mm)
Fig. 8 Sample sketch and distribution of two-cracked specimen
试件的裂隙扩展过程同样经历了前述4个阶段,分析如下:
1) OA段为初始压密阶段,应力从0 Pa到峰值强度的10.9%。
2) AB段为弹性变形阶段,应力从峰值强度的10.9%到峰值强度的77.9%。在峰值强度的44.3%时,预制裂隙2的下端部有翼裂纹萌生;之后,裂隙2上端部和裂隙1下端部顺次萌生翼裂纹,且三者保持同步增长;但直至裂纹扩展到一定规模,裂隙2上端均未有裂纹萌生,如图9(a)所示,此时在上述3处位置,各有包裹式翼裂纹和一个花斑形裂纹,并不断发展。继续加载,裂隙2上端部有翼裂纹瞬时萌生,同时其余部位裂纹停止生长,直至裂隙2上端部发展到同等规模断续独立的两片似包裹状破裂面。接着加载,各处包裹式翼裂纹沿着裂隙边缘,以卷曲面的方式向远离预制裂隙的方向扩展,预制裂隙1上端则成为规模更大的花瓣形裂纹。该阶段结束时,破裂状态如图9(b)所示。
3) BC段为裂纹扩展和贯通阶段,应力从峰值强度的77.9%到峰值强度的90.9%。预制裂隙2上端部的两片似包裹状破裂搭接合并为包裹式翼裂纹,并逐渐发展为花瓣形裂纹。随着荷载的不断增加,两条裂隙间的花瓣形裂纹开始搭接贯通。

图9 试件裂纹扩展过程
Fig. 9 Crack propagation process of specimen

图10 试件的全程应力-应变曲线
Fig. 10 Stress-strain curves of specimen
4) CD段为裂纹加速扩展阶段,应力从峰值强度的90.9%到试件破坏。花瓣形裂纹前缘以卷曲的竖直型裂纹继续延伸,某一时刻,预制裂隙2上端部的花瓣形裂纹前缘突然转变扩展方向,产生一弯曲面,和预制裂隙1上端部轮廓搭接(图11)。试件承载力不断下降,竖直型大裂纹发展迅速,并形成宏观破裂面最终将试件劈开,呈现脆性劈裂破坏。
与文献[14]中的试验结果(图12)相比,本文中材料的透明性大幅提高,照片清晰度明显改善;试验中的始裂规律和某些破裂形态,如似包裹状破裂、花瓣形裂纹等,以及裂隙间的搭接贯通方式,也是此前未发现的。

图11 花瓣形裂纹搭接模式和试件劈裂破坏
Fig. 11 Lap mode of petal-shaped cracks and splitting failure of specimens

图12 文献[14]的试验结果
Fig. 12 Experimental results of Ref.[14]
2.3 试验小结
1) 与单裂隙相比,双裂隙试验中,由于裂隙间的相互作用,产生了许多不同现象。如次生裂纹的始裂规律,似包裹状破裂形态,以及裂隙间的搭接方式等。
2) 花斑形裂纹通常仅绿豆般或更小,产生于次生裂纹的最外侧,其走向是从预制裂隙内部向外,并不是沿着预制裂隙边缘,且从萌生时刻起就与预制裂隙边缘存在一小的夹角。
3) 在花斑形裂纹不断被包裹式翼裂纹或花瓣形裂纹搭接融合的过程中,其延伸到预制裂隙外部的轮廓也成为新破裂面的边缘,使得新生裂纹不断向摆脱预制裂隙边缘束缚的方向发展。也就是说,花斑形裂纹是次生裂纹向纵向扩展的前兆,即竖向张拉裂纹的积聚阶段。
4) 似包裹状破裂是完全沿着预制裂隙边缘的,几片断续独立的似包裹状破裂可以联合发展成包裹式翼裂纹,也可与包裹式翼裂纹或花瓣形裂纹搭接合并,使得次生裂纹不断发展。
3 结论
1) 介绍了最新研制的类岩石透明树脂材料,其脆性度(抗拉和抗压强度比)在较低温度下可达到1/6.6,其脆性特性有了大幅提高,更接近岩石,性能稳定易于制取试件;其透明性大幅提高,照片更清晰。建立了可制备多条内置裂隙的模具和制作工艺。
2) 制作出含三维裂隙试样,研究了三维单双裂隙试件在单轴加压下的裂隙扩展和试件破裂规律与应力-应变的关系。试件受压破裂过程大致经历4个阶段。其4个变形阶段与岩石试件完全相对应,并发现材料有非常明显的与岩石类似的扩容特性。
3) 试验中,出现了许多与前人不同和前人未曾发现过的现象。如单裂隙试件在第3阶段期间的破坏状态(图4(b)),Adams等[10]曾作出预测模型图,并未有相关试验图片证明。而本文的试验中确实出现了这一现象并给出了清晰的图形和说明;双裂隙试件试验中,因脆性度提高而出现的似包裹状破裂,花瓣形裂纹的形成机制,花瓣形裂纹与预制裂隙轮廓的搭接贯通机制,以及第2阶段某些扩展现象,是前人未曾发现过的。
参考文献:
[1] 蒲成志, 曹平, 赵延林, 等. 单轴压缩下多裂隙类岩石材料强度试验与数值分析[J]. 岩土力学, 2010, 31(11): 3661-3666.
PU Chengzhi, CAO Ping, ZHAO Yanlin, et al. The numerical analysis and strength experiment of rock-like material with multi-fissures under uniaxial compression[J]. Rock and Soil Mechanics, 2010, 31(11): 3661-3666.
[2] 郝锦绮, 冯锐, 周建国, 等. 岩石破裂过程中电阻率变化机理的探讨[J]. 地球物理学报, 2002, 45(3): 426-433.
HAO Jingqi, FENG Rui, ZHOU Jianguo, et al. Study on the mechanism of resistivity changes during rock cracking[J]. Chinese J Geophys, 2002, 45(3): 426-433.
[3] 马胜利, 雷兴林, 刘力强. 标本非均匀性对岩石变形声发射时空分布的影响及其地震学意义[J]. 地球物理学报, 2004, 47(1): 127-131.
MA Shengli, LEI Xinglin, LIU Liqiang. Effects of heterogeneity in rock samples on spatial and temporal distribution of acoustic emission and their significance in seismology[J]. Chinese J Geophys, 2004, 47(1): 127-131.
[4] 唐春安, 刘红元, 秦四清, 等. 非均匀性对岩石介质中裂纹扩展模式的影响[J]. 地球物理学报, 2000, 43(1): 116-121.
TANG Chunan, LIU Hongyuan, QIN Siqing, et al. Influence of heterogeneity on crack propagation modes in brittle rock[J]. Chinese J Geophysics, 2000, 43(1): 116-121.
[5] Robet A, Einstein H. Fracture coalescence in rock-type material under uniaxial and biaxial compression[J]. International Journal of Rock Mechanics and Mining Sciences, 1998, 35(7): 863-888.
[6] 朱维申, 陈卫忠, 申晋. 雁形裂纹扩展的模型试验及断裂力学机制研究[J]. 固体力学学报, 1998, 19(4): 355-360.
ZHU Weishen, CHEN Weizhong, SHEN Jin. Simulation experiment and fracture mechanism study on propagation of echelon pattern cracks[J]. Acta Mechanica Solida Sinica, 1998, 19(4): 355-360.
[7] Wong R H C, Chau K T, Tang C A, et al. Analysis of crack coalescence in rock-like materials containing three flaws—Part I: Experimental approach[J]. International Journal of Rock Mechanics and Mining Sciences, 2001, 38(7): 909-924.
[8] 朱万成, 唐春安. 岩板中混合裂纹扩展过程的数值模拟[J]. 岩土工程学报, 2000, 22(2): 231-234.
ZHU Wancheng, TANG Chunan. Numerical simulation on the propagation processes of mixed mode cracks in rock plates[J]. Chinese Journal of Geotechnical Engineering, 2000, 22(2): 231-234.
[9] Adams M, Sines G. Crack extension from flaws in a brittle material subjected to compression[J]. Tectonophysics, 1978, 49(1): 97-118.
[10] Dyskin A V, Jewell R J, Joer H, et al. Experiments on 3D crack growth in uniaxial compression[J]. International Journal of Fracture, 1994, 65(4): 77-83.
[11] Dyskin A V, Sahouryeh E, Jewell R J, et al. Influence of shape and locations of initial 3D cracks on their growth in uniaxial compression[J]. Engineering Fracture Mechanics, 2003, 70(15): 2115-2136.
[12] 滕春凯, 尹祥础, 李世愚, 等. 非穿透裂纹平板试件三维破裂的试验研究[J]. 地球物理学报, 1987, 30(4): 371-378.
TENG Chunkai, YIN Xiangchu, LI Shiyu, et al. An experimental investigation on 3D fractures of non-penetrating crack in plane samples[J]. Acta Geophysica Sinica, 1987, 30(4): 371-378.
[13] 黄明利, 黄凯珠. 三维表面裂纹相互作用扩展贯通机制试验研究[J]. 岩石力学与工程学报, 2007, 26(9): 1794-1799.
HUANG Mingli, HUANG Kaizhu. Experimental study on propagation and coalescence mechanisms of 3D surface cracks[J]. Chinese Journal of Rock Mechanics and Engineering, 2007, 26(9): 1794-1799.
[14] 郭彦双, 林春金, 朱维申, 等. 三维裂隙组扩展及贯通过程的试验研究[J]. 岩石力学与工程学报, 2008, 27(增1): 3191-3195.
GUO Yanshuang, LIN Chunjing, ZHU Weishen, et al. Experimental research on propagation and coalescence process of three-dimensional flaw-sets[J]. Chinese Journal of Rock Mechanics and Engineering, 2008, 27(Supp.1): 3191-3195.
[15] 李术才, 李廷春, 王刚, 等. 单轴压缩作用下内置裂隙扩展的CT扫描试验[J]. 岩石力学与工程学报, 2007, 26(3): 484-492.
LI Shucai, LI Tingchun, WANG Gang, et al. CT real-time scanning tests on rock speciments with artificial intial crack under uniaxial conditions[J]. Chinese Journal of Rock Mechanics and Engineering, 2007, 26(3): 484-492.
[16] 付金伟, 朱维申, 王向刚, 等. 节理岩体裂隙扩展过程一种新改进的弹脆性模拟方法及应用[J]. 岩石力学与工程学报, 2012, 31(10): 2088-2095.
FU Jinwei, ZHU Weishen, WANG Xianggang, et al. An improved elastic-brittle simulation method of crack propagation process in jointed rock mass and its application[J]. Chinese Journal of Rock Mechanics and Engineering, 2012, 31(10): 2088-2095.
(编辑 陈爱华)
收稿日期:2013-11-03;修回日期:2014-02-22
基金项目:国家自然科学基金资助项目(41072234,51279095,51109123)
通信作者:朱维申(1932-),男,浙江绍兴人,博士,教授,博士生导师,从事岩石力学与工程研究;电话:0531-88395984;E-mail: zhuw@sdu.edu.cn
摘要:由于不透明的内含裂隙的岩石类材料难以直接观测其破裂过程和开展含三维裂隙试验的复杂性等原因,目前含三维断裂面岩体的破裂研究还处于初期阶段。研制一种完全透明、在较低温度下拉压强度比可达1/6.6的树脂材料,其与岩石特性的相似性比前人有大幅度提高。建立一整套可制作含多断裂面试件的工艺流程和相应的模具及技术,并初步开展含单个和双个内置椭圆形断裂面试件在单轴加载下的试验。研究次生裂纹扩展和试件破裂规律与应力-应变关系。试验结果表明:试件的破裂大致经历4个阶段。含三维断裂体试件的破裂比二维情况复杂得多,产生多种不同形态的新裂纹。
[1] 蒲成志, 曹平, 赵延林, 等. 单轴压缩下多裂隙类岩石材料强度试验与数值分析[J]. 岩土力学, 2010, 31(11): 3661-3666.
[2] 郝锦绮, 冯锐, 周建国, 等. 岩石破裂过程中电阻率变化机理的探讨[J]. 地球物理学报, 2002, 45(3): 426-433.
[3] 马胜利, 雷兴林, 刘力强. 标本非均匀性对岩石变形声发射时空分布的影响及其地震学意义[J]. 地球物理学报, 2004, 47(1): 127-131.
[4] 唐春安, 刘红元, 秦四清, 等. 非均匀性对岩石介质中裂纹扩展模式的影响[J]. 地球物理学报, 2000, 43(1): 116-121.
[6] 朱维申, 陈卫忠, 申晋. 雁形裂纹扩展的模型试验及断裂力学机制研究[J]. 固体力学学报, 1998, 19(4): 355-360.
[8] 朱万成, 唐春安. 岩板中混合裂纹扩展过程的数值模拟[J]. 岩土工程学报, 2000, 22(2): 231-234.
[12] 滕春凯, 尹祥础, 李世愚, 等. 非穿透裂纹平板试件三维破裂的试验研究[J]. 地球物理学报, 1987, 30(4): 371-378.
[13] 黄明利, 黄凯珠. 三维表面裂纹相互作用扩展贯通机制试验研究[J]. 岩石力学与工程学报, 2007, 26(9): 1794-1799.
[14] 郭彦双, 林春金, 朱维申, 等. 三维裂隙组扩展及贯通过程的试验研究[J]. 岩石力学与工程学报, 2008, 27(增1): 3191-3195.
[15] 李术才, 李廷春, 王刚, 等. 单轴压缩作用下内置裂隙扩展的CT扫描试验[J]. 岩石力学与工程学报, 2007, 26(3): 484-492.
[16] 付金伟, 朱维申, 王向刚, 等. 节理岩体裂隙扩展过程一种新改进的弹脆性模拟方法及应用[J]. 岩石力学与工程学报, 2012, 31(10): 2088-2095.