DOI:10.19476/j.ysxb.1004.0609.2018.10.19
风化壳淋积型稀土矿浸出前后孔隙结构特性
尹升华1, 2,齐 炎1, 2,谢芳芳3, 4,陈 勋2,王雷鸣2,邵亚建2
(1. 北京科技大学 金属矿山高效开采与安全教育部重点实验室,北京 100083;
2. 北京科技大学 土木与资源工程学院,北京 100083;
3. 江西离子型稀土工程技术研究有限公司,赣州 341000;
4. 国家离子型稀土资源高效开发利用工程技术研究中心,赣州 341000)
摘 要:
为揭示风化壳淋积型稀土矿浸出前后孔隙演化规律,对重配比矿样开展室内柱浸实验,分析柱浸过程溶浸液的渗出速率。基于CT无损探测技术及图像分析软件,研究在4%(质量分数)(NH4)2SO4的条件下风化壳淋积型稀土矿颗粒浸出前后孔隙结构微细观特征及其演化规律,得到浸出前后稀土矿体孔隙率在纵截面各分段的变化关系。结果表明:浸出液渗流速率与累计浸出时间呈负指数函数关系,渗流速率降幅在累积时间12 h前最为明显,之后其幅度减缓,累计时间24 h后其值趋于稳定,稳定速率为7.193×10-4 cm/s。浸出后反应器内的矿体高度减小0.866 cm,矿体发生了沉降,且矿物颗粒尺寸有所减小,孔隙不均匀分布程度提高,局部出现“泥化”现象,矿体浸出后孔隙率减小16.35 %。机制分析认为,矿物颗粒迁移和溶液化学作用是影响风化壳淋积型稀土浸矿孔隙结构演化的2个主要因素。
关键词:
文章编号:1004-0609(2018)-10-2112-08 中图分类号:TD865 文献标志码:A
风化壳淋积型稀土矿浸出过程中,孔隙结构直接影响风化壳淋积型稀土矿渗透性,并决定稀土离子的浸出率和采区安全[1-2]。随着溶浸液不断注入矿体,因细小颗粒迁移和溶浸液物理化学作用,矿体结构不断变化,导致矿体物理力学性质也相应改变,极易产生溶浸液堵塞及矿体边坡不稳等现象[3-4]。因此,研究风化壳淋积型稀土矿浸出前后孔隙结构变化对提高溶浸液渗透性和保障采区安全具有实际指导意义。
孔隙比对风化壳淋积型稀土矿浸出效果影响极大。近年来,国内外学者开展了许多相关研究。杨保华等[5]、WU等[6]、YANG等[7]和ZHOU等[8]借助CT扫描技术及三维图像重构法对矿石颗粒浸出前后颗粒间微观孔隙结变化特征进行了研究,基于MATLAB程序设计也对堆浸体浸出前后孔隙结构特征和矿石颗粒尺寸进行了分析,根据图像处理软件计算了孔隙大小分布,分析了其几何形态和连通性。LI等[9]采用室内试验的方法,全面考察了堆浸过程中次生硫化铜矿反应动力学的影响因子,发现颗粒孔隙度与反应物颗粒粒径对浸出速率都有影响。YE等[10]基于SVM模型,着眼于粒径分维数和孔隙率等因素,成功预测了流态指数的相对误差,分别得到粒径分维数和孔隙率与渗透率之间的关系模型。杨晓琴等[11-12]研究了不同溶浸条件下矿岩细观结构演化规律,得到岩样孔隙率演化溶浸过程存在显著的温度与浓度效应。LO等[13]、XU等[14]为获取矿物颗粒的空间图像,借助微层析成像技术研究了在凝聚颗粒浸出动力学规律。QUAICOE等[15]通过分析内部微观结构探究了不同粒径范围低品位镍和红土矿颗粒酸浸下孔隙变化关系,认为湿颗粒的固化显著提高了其抗压强度和孔隙率。AL-RAOUSH 等[16]利用X射线三维显微层析图像法分析了多孔介质局部孔隙率的分布。LIU等[17]基于改进的熔融-浸出技术,利用盐颗粒和水溶性聚合物形成复合致孔剂,得到了致孔剂峰孔特性可以改变试样理化性质力学性能和孔隙结构的结论。CASTELLOTE等[18]、ALEXANDER等[19]研究孔隙液浓度梯度对浸出影响,通过降低孔隙溶液溶质浓度促使更多物质溶解,从而加快浸矿进程。
这些研究在一定程度上揭示了浸矿前后孔隙率和孔隙连通性关系,也得到了三维可视化的孔隙分布等结论。但是目前对浸出前后矿体孔隙演化的定量描述与机理研究较为匮乏。
对此,本文作者基于前人的研究成果,对调配的矿样进行柱浸实验,探讨浸出前后矿体孔隙演化规律,借助CT扫描与图像分析技软件等对浸矿前后的矿样进行处理,得到了浸出前后矿体纵截面孔隙率变化关系,探讨了浸矿前后孔隙变化原因,并建立了浸出液渗流速率与累计浸出时间的关系模型。研究结果对于今后孔隙结构如何影响浸矿和多孔介质的孔隙研究方面具有较好的指导作用。
1 实验
1.1 实验矿样
本研究中采用的矿样取自江西省龙南某矿,烘干试样的照片如图1所示。柱浸实验开始前利用孔径0.6 mm的标准筛和顶击式振筛机对试样颗粒进行了重配比。重新配比后的试样各粒级组分及含量见表1。
1.2 柱浸实验

图1 稀土矿原样与重配比后的烘干试样
Fig. 1 Original rare earth samples and re-ratio after drying samples
表1 柱浸试样粒级组分及含量占比
Table 1 Column soaking sample grain size components and content ratio

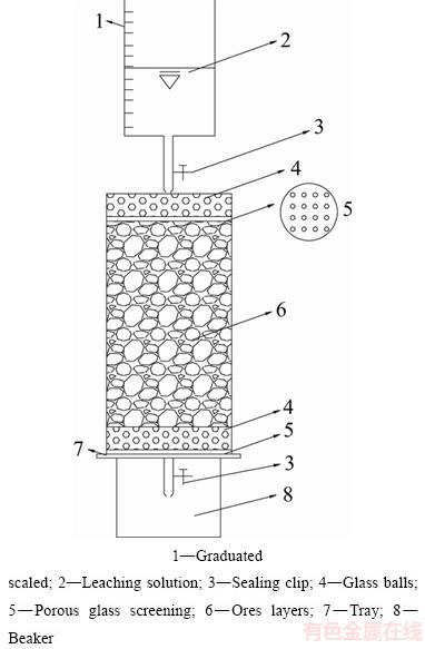
本实验中利用自制内径5 cm的有机玻璃柱状反应器进行浸矿实验。浸取剂采用浓度为4%(质量分数)的(NH4)2SO4溶液。在往柱式反应器内装入矿样之前,为减小“边壁效应”的干扰,先在反应器内壁涂抹凡士林。利用支架垂直固定好反应器,调节注液器阀门,控制注液强度为0.025 mL/s。整个柱浸实验装置各组成部分及名称见图2。

图2 柱浸实验装置图
Fig. 2 Column leaching experimental devicer
1.3 CT扫描实验
采用CT扫描仪对柱状反应器内稀土矿体进行无损探测。德国生产的SOMATOM Definition Flash型X射线CT扫描装置图如图3所示。为确保矿体浸出前后各扫描切片图尽可能准确地对应上,在柱状反应器表面事先做好标记,确保浸出前后柱式反应器放置于扫面装置平台上的朝向和角度一致。整个柱浸实验和CT扫描过程都轻拿轻放柱状反应器,避免动作过大导致柱内矿样扰动,影响实验结果。

图3 CT扫描装置照片
Fig. 3 Photo of CT scanning devicer
扫描得到柱状反应器内稀土矿体浸出前后颗粒结构和孔隙分布图。扫描获得一张柱状矿体纵截面切片图,为清晰观察矿体内孔隙特征以及尽可能避免边界孔隙影响实验结果,取矿体纵截面面积最大的扫描切片图作为浸出前后矿体孔隙变化的对比分析对象。
2 结果与分析
2.1 实验矿样图像处理及分析
CT扫描得到柱状反应器中矿体浸出前后内部颗粒形态特征和孔隙分布情况,结果分别如图4所示。其中灰白色和深黑色区域分别代表颗粒结构与孔隙分布。
分析矿体浸出前后原始CT扫描图像可以发现:矿物颗粒无规则地分布在柱状反应器内,颗粒之间存在孔隙,孔隙分布随机;颗粒大小与孔隙分布之间存在一定的规律性,大颗粒之间形成的孔隙较大,分布更不均匀,而小颗粒之间形成的孔隙相对较小,分布较均匀;相比于浸出前,浸出后的矿物颗粒变得更为模糊,且尺寸有所减小,孔隙分布变得更不均匀,部分区域隐约出现“泥化”现象。利用DicomViewer软件打开CT扫描原始图,使用软件的“直线”功能,可以精确测量矿体的实际高度。经过测量,浸出前矿体高度为19.602 cm,而浸出后矿体高度变为18.736 cm,矿体浸出前后高度变化了0.866 cm。试验说明矿体在浸出过程中发生了沉降,即矿物颗粒在溶液作用下发生了迁移。
为更清晰反映柱状反应器矿体内部的孔隙情况,减小反应器边壁对矿体的影响,先利用图片处理软件对矿体边壁进行裁剪,去除反应器边壁,只保留矿体图像。通常在CT图像的获取过程中,由于外界环境(如灰尘、污迹和光线等)的干扰和设备中各元件的随机扰动不可避免地会带来噪声,使得图像质量受到影响,故借助Photoshop CS6软件降噪处理以增强原始扫描图特征。
2.2 基于Matlab的图像处理

图4 矿体浸出前后CT扫描图
Fig. 4 CT scan images of ore body before and after leaching
浸出前后矿体扫描图像降噪处理后,矿体内部颗粒和孔隙变得清晰,矿体边界变得明显,但仍难直观的比较矿体颗粒和孔隙的形态变化。为了方便浸出前后矿体内部颗粒和孔隙形态的对比观察以及对孔隙率的数值计算,需借助图像处理及计算功能强大的Matlab软件对图像作进一步的处理。
数字图像在Matlab中的呈现是对连续函数f(x, y) 采样和量化的离散化结果。采样和量化分别指坐标值(x, y)和幅值f数字化为矩阵的过程。因而采取矩阵运算的方式便可对数字图像进行处理。一幅灰度图像在Matlab中就是一个数据矩阵,矩阵中的每个数据代表每个小区域的灰度值,例如m×n大小的灰度图像Matlab中的逻辑表示为
(1)
图像直方图实为灰度统计直方图,因此在获得图像直方图之前,需将彩色原图转换为灰度图。调用Matlab中的rgb2gray函数可灰度化原始彩色图像。
图像灰度值分布可通过直方图间接反映。直方图均衡化目的是将灰度概率密度聚集分布在某一像素区间的已有图像转变为灰度概率密度均布于整个像素区间的新图像。图像分割常利用灰度图像二值化,即设定一适当灰度阈值T,然后将图像分成大于和小于该值的两个像素群。将大于和小于T值的像素灰度值分别令为1和0,分别代表矿体颗粒和粒间孔隙。这一过程可以逻辑表示为
(2)
式中:f(x, y)为灰度图像;T为阈值;g(x, y)为阈值处理后的图像。
利用二维Otsu阈值法对浸出前后矿体图像进行分割处理,结果如图5所示。图5(a)所示为浸出前矿体纵截面图,图5(b)所示为浸出后矿体纵截面图,其中左边为矿体纵截面图,右边为二值化的矿体纵截面图;矿体纵截面二值化图中白、黑区域分别表示矿物颗粒和粒间孔隙。
由浸出前后矿体纵截面二值化图可以较清晰地看出:浸出前矿体颗粒和孔隙分布都较均匀,而浸出后颗粒尺寸变小,孔隙分布变得不太均匀,且在矿体纵截面的中上部出现了3块比较明显的密实区域。
对于浸出前后的孔隙率变化情况,肉眼观察很难做出准确判断,因此需借助Matlab软件强大的计算功能进行定量分析。浸出前后矿体纵截面图像经过二值化后,图像像素的灰度值变为0和1,其中0代表孔隙,1代表矿物颗粒。用像素面积乘以灰度值为0的像素个数就可以得到孔隙所占面积S0,同样用像素面积乘以灰度值为1的像素个数可以求出颗粒所占面积S1,则图像的孔隙率P:
(3)
基于上述理论分析,在Matlab软件中编辑以下代码计算浸出前后矿体纵截面的孔隙率:
clear all;t=imread('Filepath');a=size(t);k=0;for i=1:a(1);for j=1:a(2);if t(i,j)==0;k=k+1;end;end;end;p=k/(a(1)*a(2))。

图5 浸出前后矿体图像(左)和二值化图(右)
Fig. 5 Ore body image (left) and binarized graph (right) before and after leaching
为防止图像背景对计算结果的影响,程序读取的是经过背景处理后的纯矿体图像。计算结果表明,浸出前矿体的孔隙率为50.89%,而浸出后矿体的孔隙率为46.42%,浸出前后矿体孔隙率发生了变化。孔隙率的变化进一步说明了矿体颗粒发生了迁移或矿体发生了形变。
2.3 浸出前后矿体孔隙演化规律及机理分析
在浸出过程中,受矿体颗粒形变、颗粒运移与沉积等物理作用,以及溶浸液与矿物离子化学反应的影响,矿体内部孔隙处于不断演化的状态,表现为表征孔隙特性的一系列参数(如孔隙分布、孔隙连通性及孔隙率等)在时空上的差异变化。孔隙演化是一个时空变化的极复杂过程,受观测手段的制约,难以对其进行全面深入的研究,而孔隙演化又是一个非常关键的过程,其对矿块渗透性和稳定性产生严重影响,决定矿块的整体浸出效果。

图6 浸出前后矿体纵截面分段孔隙率
Fig. 6 Porosity of longitudinal section of orebody before and after leaching
图6所示为浸出前后矿体纵截面分段孔隙率。将柱状反应器内的矿体纵截面图自上而下分为编号为1~5号5个部位,并利用图像处理技术和Matlab软件对这5个部位的孔隙率进行了计算。图中直观显示了浸出前后矿体孔隙率:1) 空间分异。浸出前,受颗粒偏析、细粒穿流和上覆压力的影响,矿体从上到下孔隙呈差异性分布,矿体上部孔隙率相对于中下部偏大;浸出后,矿体自上而下孔隙分布较浸出前均匀,但孔隙率总体减小。2) 时间演变。由表2中的数据可知,浸出后矿体1号部位孔隙率由31.26%减小到25.85%,孔隙率变化17.31%,变化量最大;矿体2号部位浸出后,孔隙率变化3.88%,变化不大;矿体4、5号部位孔隙率都有所减小,但减小幅度不如1号部位明显;将矿体1、2号部位视为上部,3号部位视为中部,4、5号部位视为下部,则浸出后矿体中上部孔隙率较下部变化明显。
表2 浸出前后矿体各分段孔隙率及变化
Table 2 Porosity and variation of ore sections in ore body before and after leaching

上述分析结果表明,浸出前后稀土矿体纵截面各分段孔隙率变化呈现一定的规律性,分析其原因如下:
1) 矿物颗粒迁移。由于风化壳淋积型稀土矿柱浸实验过程中喷淋强度很小,所以溶液在矿体中上部产生的水压力也很小,只有重度较小的细微颗粒在此水动力下才能发生迁移。当矿体饱和时,矿体上、中、下各部位中颗粒受到的水压力由上到下依次增大,分布于矿体下部的大直径颗粒容易发生短距离位移,堵塞孔隙喉道。在一定的水力梯度下,相同质量且处于同一溶液流向上的颗粒,由于直径的不同,在同一孔隙内会形成两种不同功能的颗粒,一种是移动颗粒,另一种是阻塞颗粒(见图7)。这两种不同功能颗粒的形成取决于颗粒直径与孔隙喉道大小的比较,假设松散颗粒直径为d,则:
当d2≤d≤d1时,颗粒将堵塞孔隙喉道,形成阻塞颗粒;当d<d2时,颗粒可通过孔隙喉道,形成移动颗粒。在溶液渗透强度不断增大到一定范围时,骨架颗粒孔隙间的松散颗粒便开始迁移。小于孔隙喉道的松散颗粒能够随着溶液自由流动,大于孔隙喉道的松散颗粒便被阻塞在孔隙中,不能移出孔隙。然而,移动颗粒和阻塞颗粒在水力条件下的移动都有可能堵塞孔隙,影响溶液渗流。此外,随着溶液渗透的持续进行,移动颗粒不断向矿体底部迁移,容易在底部聚集和沉积,影响底部矿体的渗透性,降低浸出液的出液速率。

图7 孔隙中两种迁移颗粒
Fig. 7 Porosity of two migrated particles
当水压力变大时,阻塞颗粒亦可克服阻力发生迁移。阻塞颗粒较小位移的迁移就极易堵塞孔喉。而且孔喉一旦被这些颗粒堵塞之后,矿体孔隙连通性就会减弱。溶液在矿体内的可渗流路径减少且渗流路径变长,同样会降低了浸出液的出液速率。溶液渗流过程中,矿体上、中、下各部位孔隙中的松散颗粒受到的水压力由上到下依次增大。
2) 溶液化学反应作用。随着风化壳淋积型稀土矿柱浸体系内溶液渗流和离子交换反应的不断进行,矿体上部主要分布为溶浸液,而下部主要为浸出液。溶浸液与稀土离子反应后,溶液离子浓度将减小,但离子浓度与化合价平方的乘积将变大。因此,矿体上部颗粒表面的双电层厚度要大于矿体底部,使得微细颗粒易在矿体的中上部位聚集,导致矿体中上部的孔隙率减小幅度变大。假设溶浸液在稀土矿矿体孔裂隙中为层流流态,不会产生非溶矿渣或者非溶矿渣不沉淀或不影响扩散过程,忽略整个反应过程温度变化和其他因素的干扰。根据溶浸液与稀土离子的反应机理,对矿体裂隙表面化学反应造成的溶解进行简化:假设矿体孔裂隙表面边界层中NH4+浓度饱和,NH4+与黏粒表面的RE3+反应后RE3+经过边界层进入扩散区,而NH4+留在黏粒表面形成不溶性物质(见图8(a));反应完成后,边界层中NH4+浓度降至不饱和,为了补充边界层的物质损失,扩散区的NH4+进入边界层使溶液浓度重新饱和(见图8(b));由于交换反应中交换离子和被交换离子化合价和半径的不同,所以反应完成后孔隙边界连同边界层会发生一段微小距离的后退(见图8(c))。

图8 溶浸液与稀土矿交换反应示意图
Fig. 8 Schematic diagram of exchange reaction between leachate and rare earth
为说明浸取剂与矿物颗粒的化学反应对矿体孔隙产生了影响,拟通过观察浸出液渗流速率的变化来反映孔隙的变化。自浸出液从柱式反应器内流出起,测记浸出液的流量V,并根据柱式反应器的横断面内圆面积计算各时刻浸出液的渗流速率v。浸出液渗流速率随时间的变化规律,结果如图9所示。
图9显示,浸出液渗流速率随着累计浸出时间的增加而不断减小,且降幅在累计时间12 h前最为明显,之后降幅减缓,到累计浸出时间为24 h逐渐趋于稳定。对渗流速率曲线进行线性回归可得浸出液渗流速率与累计浸出时间的关系,如式(4),拟合相关系数为0.9598:
(4)
式中:v为浸出液渗流速率,cm/s;t为累计浸出时间,h。
分析式(4)可知,浸出液渗流速率与累计浸出时间呈负指数函数关系,当累计浸出时间无限增大时,浸出液的渗流速率趋于一个固定值,该值为7.193×10-4 cm/s。

图9 各累积时间浸出液的渗流速率
Fig. 9 Seepage velocity of leachate at each cumulative time
3 结论
1) 浸出液渗流速率与累计浸出时间呈负指数函数关系,渗流速率随时间增加而减小,且降幅在累积时间12 h前最为明显,之后幅度减缓,到累计时间为24 h逐渐趋于稳定,稳定速率为7.193×10-4 cm/s。
2) 浸出后柱式反应器内的矿体高度减小了0.866 cm,矿体发生了沉降,且矿物颗粒尺寸有所减小,孔隙分布变得更为不均,矿体局部出现“泥化”现象;矿体浸出后孔隙比由1.04减小为0.87,孔隙比减小了16.35 %。
3) 浸出后矿体上部孔隙率变化最为明显,其次为中部,最次为底部。矿体的颗粒组成简单,粒级呈两头分布,中间粒级缺失;由于喷淋强度较小,细微颗粒向下迁移过程易在中上部发生“组拱”,导致泥化;浸出过程中矿体内矿物颗粒表面扩散双电层厚度呈“上厚下薄”分布。孔隙演化原因主要有矿物颗粒迁移和溶液化学作用两方面。
REFERENCES
[1] QIU T S, FANG X H, WU H Q, ZENG Q H, ZHU D M. Leaching behaviors of iron and aluminum elements of ion-absorbed-rare-earth ore with a new impurity depressant[J]. Transactions of Nonferrous Metals Society of China, 2014, 24(9): 2986-2990.
[2] 曹 飞, 杨大兵, 李乾坤, 甘 杰, 张 攀. 风化壳淋积型稀土矿浸取技术发展现状[J]. 稀土, 2016, 37(2): 129-136.
CAO Fei, YANG Da-bing, LI Qian-kun, GAN Jie, ZHANG Pan. Progress in leaching of leachate-type rare earth ore in weathering crust[J]. Chinese Rare Earths, 2016, 37(2): 129-136.
[3] HE Zheng-yan, ZHANG Zhen-yue, YU Jun-xia, XU Zhi-guo, CHI R. Process optimization of rare earth and aluminum leaching from weathered crust elution-deposited rare earth ore with compound ammonium salts[J]. Journal of Rare Earths, 2016, 34(4): 413-419.
[4] 许秋华, 孙园园, 周雪珍, 刘艳珠, 李 静, 李永绣. 离子吸附型稀土资源绿色提取[J]. 中国稀土学报, 2016, 34(6): 650-660.
XU Qiu-hua, SUN Yuan-yuan, ZHOU Xue-zhen, LIU Yan-zhu, LI Jing, LI Yong-xiu. Green extraction of ion-adsorption rare earth resources[J]. Journal of the Chinese Society of Rare Earths, 2016, 34(6): 650-660.
[5] 杨保华, 吴爱祥, 缪秀秀. 基于图像处理的矿石颗粒三维微观孔隙结构演化[J]. 工程科学学报, 2016, 38(3): 328-334.
YANG Bao-hua, WU Ai-xiang, MIAO Xiu-xiu. 3D micropore structure evolution of ore particles based on image processing[J]. Chinese Journal of Engineering, 2016, 38(3): 328-334.
[6] WU Ai-xiang, YANG Bao-hua, XI Yong, JIANG Huai-chun. Pore structure of ore granular media by computerized tomography image processing[J]. Journal of Central South University of Technology, 2007, 14(2): 220-224.
[7] YANG Bao-hua, WU Ai-xiang, MIAO Xiu-xiu, LIU Hong-bing. Microstructure evolution of ore particles during bioleaching based on X-ray micro-computed tomography images[J]. Advanced Materials Research, 2015, 1130: 325-328.
[8] ZHOU N, MATSUMOTO T, HOSOKAWA T, SUEKAN E. Pore-scale visualization of gas trapping in porous media by X-ray CT scanning[J]. Flow Measurement & Instrumentation, 2010, 21(3): 262-267.
[9] 李宏煦, 苍大强, 邱冠周, 吴爱祥. 溶液电位及堆结构影响次生硫化铜矿生物堆浸的动力学[J]. 中南大学学报(自然科学版), 2006, 37(6): 1087-1093.
LI Hong-xu, CANG Da-qiang, QIU Guan-zhou, WU Ai-xiang. Kinetics of secondary copper sulfide heap bioleaching concerning potential and heap constitution[J]. Journal of Central South University (Science and Technology), 2006, 37(6): 1087-1093.
[10] 叶勇军, 丁德馨, 李广悦, 宋键斌, 李 峰. 堆浸铀矿堆液体饱和渗流规律的研究[J]. 岩土力学, 2013, 34(8): 2243-2248.
YE Yong-jun, DING De-xin, LI Guang-yue, SONG Jian-bin, LI Feng. Regularities for liquid saturated seepage in uranium ore heap for heap leaching[J]. Rock & Soil Mechanics, 2013, 34(8): 2243-2248.
[11] 杨晓琴, 于艳梅, 张传达, 梁卫国, 徐素国, 赵阳升. 温度-浓度耦合作用下可溶岩钙芒硝溶浸细观结构演化[J]. 煤炭学报, 2014, 39(3): 460-466.
YANG Xiao-qin, YU Yan-mei, ZHANG Chuan-da, LIANG Wei-guo, XU Su-guo, ZHAO Yang-sheng. Micro-structural development of glauberite under temperature and concentration coupling effect[J]. Journal of the China Coal Society, 2014, 39(3): 460-466.
[12] 陈益峰, 胡 冉, 周创兵, 井兰如. 热-水-力耦合作用下结晶岩渗透特性演化模型[J]. 岩石力学与工程学报, 2013, 32(11): 2185-2195.
CHEN Yi-feng, HU Ran, ZHOU Chuang-bing, JING Lan-ru. A permeability evolution model for crystalline rocks subjected to coupled thermo-hydro-mechanical loading[J]. Chinese Journal of Rock Mechanics & Engineering, 2014, 32(11): 2185-2195.
[13] LO A, NOSRATI A, ADDAI-MENSAH J. Particle and pore dynamics under column leaching of goethitic and saprolitic nickel laterite agglomerates[J]. Advanced Powder Technology, 2016, 23(19): 2370-2376.
[14] XU D, LIU L X, QUAST K, ROBINSON D J. Effect of nickel laterite agglomerate properties on their leaching performance[J]. Advanced Powder Technology, 2013, 24(4): 750-756.
[15] QUAICOE I, NOSRATI A, SKINNER W, ADDAI-MENSAH J. Agglomeration behaviour and product structure of clay and oxide minerals[J]. Chemical Engineering Science, 2013, 98: 40-50.
[16] AL-RAOUSH R, ALSHIBLI K A. Distribution of local void ratio in porous media systems from 3D X-ray microtomography images[J]. Physica A, 2006, 361(5): 441-456.
[17] LIU L, WANG Y, GUO S, WANG Z, WANG W. Porous polycaprolactone/ nanohydroxyapatite tissue engineering scaffolds fabricated by combining NaCl and PEG as co-porogens: Structure, property, and chondrocyte-scaffold interaction in vitro[J]. Journal of Biomedical Materials Research Part B Applied Biomaterials, 2012, 100(4): 956-966.
[18] CASTELLOTE M. Tests for leaching and degradation in soft or carbonated waters[C]// Performance of Cement-Based Materials in Aggressive Aqueous Environments. Springer Netherlands, 2013: 235-250.
[19] ALEXANDER M, BERTRON A, DE BELIE N. Performance of cement-based materials in aggressive aqueous environments[M]. Springer Netherlands, 2013.
Porosity characteristic of leaching weathered crust elution-deposited rare earth before and after leaching
YIN Sheng-hua1, 2, QI Yan1, 2, XIE Fang-fang3, 4, CHEN Xun2, WANG Lei-ming2, SHAO Ya-jian2
(1. Key Laboratory of Ministry of Education for High-Efficient Mining and Safety of Metal, University of Science and Technology Beijing, Beijing 100083, China;
2. School of Civil and Resource Engineering, University of Science and Technology Beijing, Beijing 100083, China;
3. Jiangxi Ionic Rare Earth Engineering Research Co., Ltd., Ganzhou 341000, China;
4. National Engineering Research Center for Ionic Rare Earth, Ganzhou 341000, China)
Abstract: In order to reveal the regularity of pore evolution before and after leaching of weathered crust elution- deposited rare earth ore, laboratory column leaching experiment of reallocated ore sample was carried out, and the infiltration rate of the solution was analyzed. Based on non-destructive detection of CT and image analysis software, the micro-mesoscopic characteristics and evolution of pore structure before and after leaching in the presence of 4% (mass fraction) (NH4)2SO4 were disclosed. The relation of rare earth orebody’s porosity was also obtained in different longitudinal sections. The results show that the infiltration rate of the leaching solution is negatively exponentially related to the cumulative leaching time, and the rate decreases with time. The decrease of the infiltration rate is the most obvious in accumulated time of 12 h, and then the amplitude is slowed down. The seepage rate tends to a stable value after cumulative time of 24 h, and the rate is 7.193×10-4 cm/s. After leaching, the height of the ore body in the reactor reduces by 0.866 cm, the subsidence also occurs in the orebody, the particle size of the minerals is reduced, the uneven distribution of pores increases significantly, and some areas occur “muddy” phenomenon. The porosity decreases by 16.35% after the leaching of ore sample. The mechanism analysis shows that the migration of mineral particles and the chemistry of solution are two main factors influencing the evolution of leaching structure of weathered crust elution-deposited rare earth.
Key words: weathered crust elution-deposited rare earth ore; column leaching; pore structure; CT scanning; image processing
Foundation item: Project(51334001) supported by the Key Program of National Natural Science Foundation of China; Project(51722401) supported by the National Science Fund for Excellent Young Scholars; Project (FRF-TP-18-003C1) supported by the Fundamental Research Funds for the Central Universities of China
Received date: 2017-05-18; Accepted date: 2018-09-20
Corresponding author: QI Yan; Tel: +86-10-62334680; E-mail: groupwuqiyan@163.com
(编辑 龙怀中)
基金项目:国家自然科学基金重点资助项目(51734001);国家优秀青年科学基金资助项目(51722401);中央高校基本科研业务费专项资金资助项目(FRF-TP-18-003C1)
收稿日期:2017-05-18;修订日期:2018-09-20
通信作者:齐 炎;电话:010-62334680;E-mail: groupwuqiyan@163.com
摘 要:为揭示风化壳淋积型稀土矿浸出前后孔隙演化规律,对重配比矿样开展室内柱浸实验,分析柱浸过程溶浸液的渗出速率。基于CT无损探测技术及图像分析软件,研究在4%(质量分数)(NH4)2SO4的条件下风化壳淋积型稀土矿颗粒浸出前后孔隙结构微细观特征及其演化规律,得到浸出前后稀土矿体孔隙率在纵截面各分段的变化关系。结果表明:浸出液渗流速率与累计浸出时间呈负指数函数关系,渗流速率降幅在累积时间12 h前最为明显,之后其幅度减缓,累计时间24 h后其值趋于稳定,稳定速率为7.193×10-4 cm/s。浸出后反应器内的矿体高度减小0.866 cm,矿体发生了沉降,且矿物颗粒尺寸有所减小,孔隙不均匀分布程度提高,局部出现“泥化”现象,矿体浸出后孔隙率减小16.35 %。机制分析认为,矿物颗粒迁移和溶液化学作用是影响风化壳淋积型稀土浸矿孔隙结构演化的2个主要因素。
[2] 曹 飞, 杨大兵, 李乾坤, 甘 杰, 张 攀. 风化壳淋积型稀土矿浸取技术发展现状[J]. 稀土, 2016, 37(2): 129-136.
[4] 许秋华, 孙园园, 周雪珍, 刘艳珠, 李 静, 李永绣. 离子吸附型稀土资源绿色提取[J]. 中国稀土学报, 2016, 34(6): 650-660.
[5] 杨保华, 吴爱祥, 缪秀秀. 基于图像处理的矿石颗粒三维微观孔隙结构演化[J]. 工程科学学报, 2016, 38(3): 328-334.
[9] 李宏煦, 苍大强, 邱冠周, 吴爱祥. 溶液电位及堆结构影响次生硫化铜矿生物堆浸的动力学[J]. 中南大学学报(自然科学版), 2006, 37(6): 1087-1093.
[10] 叶勇军, 丁德馨, 李广悦, 宋键斌, 李 峰. 堆浸铀矿堆液体饱和渗流规律的研究[J]. 岩土力学, 2013, 34(8): 2243-2248.
[11] 杨晓琴, 于艳梅, 张传达, 梁卫国, 徐素国, 赵阳升. 温度-浓度耦合作用下可溶岩钙芒硝溶浸细观结构演化[J]. 煤炭学报, 2014, 39(3): 460-466.
[12] 陈益峰, 胡 冉, 周创兵, 井兰如. 热-水-力耦合作用下结晶岩渗透特性演化模型[J]. 岩石力学与工程学报, 2013, 32(11): 2185-2195.