稀有金属 2004,(04),721-725 DOI:10.13373/j.cnki.cjrm.2004.04.027
难熔金属单晶技术现状与展望
郑欣
西北有色金属研究院,西北有色金属研究院 陕西西安710016 ,陕西西安710016
摘 要:
综述了当前难熔金属单晶制备的技术现状 , 介绍了难熔金属单晶技术进展 , 并对难熔金属合金单晶前景进行了展望。作者认为难熔金属单晶制备技术应沿着如下几个方面发展 :进一步降低杂质元素特别是C元素的含量 , 提高单晶纯度水平 ;发展大规格、多品种的难熔金属单晶产品 ;进一步提高难熔金属合金单晶耐热性能和使用温度 , 研发出新的难熔金属合金单晶制备技术。
关键词:
难熔金属 ;合金 ;单晶 ;
中图分类号: TG244
收稿日期: 2003-12-21
Present Situation and Prospect for Refractory Metal Single Crystal Processing
Abstract:
Technical progress of refractory metal single crystal processing was introduced and state of the art of single crystal preparation was summarized; moreover, the prospect for single crystal alloys was discussed as well. It is concluded that the future development of refractory metal single crystal should orient to the following aspects, i.e., further decreasing the content of impurity elements, especially C content; improving the purity of single crystal; developing large scale and multiform single crystal products; further improving the heat resistance and application temperature of single crystal alloys; researching and developing new techniques of single crystal alloy.
Keyword:
refractory metal; alloy; single crystal;
Received: 2003-12-21
与传统多晶结构材料相比, 难熔金属单晶材料具有塑性-脆性转变温度低、不存在高温和低温晶界破坏、 与核材料有良好的相容性、 高温结构性能稳定等优点, 可以显著提高零件稳定性、 可靠性和工作寿命, 因此被广泛用于电子、 电气、 机械、 仪表制造、 核动力工业和各种高技术研究领域。 近年来, 随着科学技术的快速发展, 难熔金属及其合金单晶的应用领域不断扩大: 例如钼单晶作为W-Mo热电偶的电极材料, 在进一步提高热电性稳定性的同时, 可使热电偶的使用温度提高500 ℃; 钨单晶作为热离子交换器、 电镜发射枪、 真空管阳极等电工发射源材料, 被广泛用于电子、 激光、 高能物理、 原子能、 空间等技术领域; 据资料报导, 铌单晶在超导领域有望成为加速器腔体材料。
目前, 国外极为重视难熔金属单晶制备技术的发展。 国内难熔金属单晶制备手段尚不完善、 设备落后、 单晶纯度低、 规格小、 品种少, 合金单晶的制备还处于研发阶段。 为了满足科学技术不断发展的需要, 制备高质量、 多品种的难熔金属及其合金单晶是材料科学技术领域一次十分迫切的任务。
1 区熔法制备难熔金属单晶技术现状
1.1 基本原理
难熔金属单晶的制备方法主要有电子束悬浮区域熔炼法、 区熔堆积法、 感应加热悬浮区域熔炼法、 熔滴等离子弧熔炼法、 等离子堆熔法、 电子束滴熔法以及应变-退火法, 其中最常用的是电子束悬浮区域熔炼法及区熔堆积法
[1 ,2 ,3 ,4 ,5 ]
。 它们都属于区熔法的范畴。
电子束悬浮区域熔炼法生长单晶的示意图见图1, 其实质是熔化1圆柱形毛坯棒中的狭窄小区域, 然后在同一方向上沿其长度方向缓慢移动。 材料的熔化区域借助它的表面张力保持在同一棒材的两段之间, 在熔化区域后面凝固, 沿着整个料棒的长度形成单晶体。 由于杂质在固态和液态溶解度不同, 经过液化被驱赶到毛坯的头端, 而起提纯作用, 金属杂质的去除不但靠区域净化提纯效应, 而且也靠直接蒸发, 而夹杂杂质则主要靠脱气法 (CO, CO2 , CH, H2 , N2 等) 去除
[6 ,7 ,8 ]
。 其设备的功率一般不高, 采用的是最简单的环状电子枪, 制成的单晶规格较小 (Φ 10 mm左右) 。 20世纪90年代德国海拉斯公司和日本真空技术株式会社已发展成用于制备难熔金属单晶的系列电子束区熔炉, 它们采用带放置机构的自加速型电子枪, 配备了超高真空 (1×10-5 ~1×10-7 Pa) 系统, 设备能力提高到20 kg, 单晶尺寸可达Φ 20~Φ 25 mm。
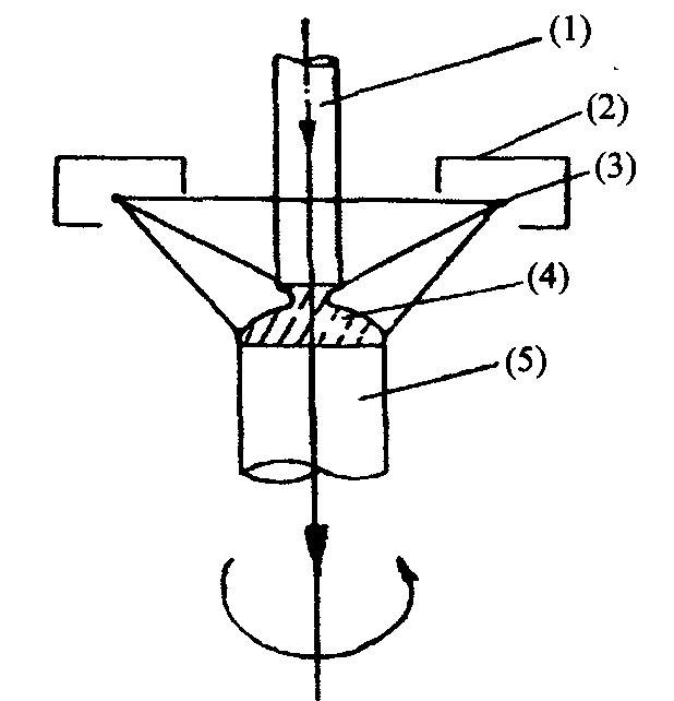
区熔堆积法生长单晶的示意图见图2, 区熔堆积法基本原理与电子束悬浮区域熔炼法相同, 不同之处是其采用电子束高真空大单晶炉, 可以培育出大尺寸难熔金属单晶。 它是将常规的电子束熔炼技术和电子束悬浮区域熔炼技术结合起来, 不仅具有电子束熔炼提纯好的特点, 而且还有明显的区熔纯化效果。
图1 电子束悬浮区域熔炼法生长单晶的示意图
Fig.1 Schematic diagram of crystal growth by EBFZM (electron beam floating zone melting)
(1) 原料棒; (2) 熔化区; (3) 聚焦线圈; (4) 电子枪
图2 区熔堆积法生长单晶的示意图
Fig.2 Schematic diagram of crystal growth by zone melting packing
(1) 原料棒; (2) 聚焦线圈; (3) 电子枪; (4) 熔化堆; (5) 生长晶体
1.2 制备工艺
电子束悬浮区域熔炼法制备难熔金属单晶工艺流程图为: 原料选择→原料预处理→制取籽晶→引晶→电子束悬浮区域熔炼→制取定向面单晶→性能测试。
1.2.1 原料选择
选用二次电子束熔炼轰击锭锻制的一级棒。 以前国内传统的方法是采用经脱气预处理的工业烧结条料直接制备难熔金属单晶, 但此法存在一些缺陷, 制备的难熔金属单晶纯度以及内部组织都不太理想。 由于粉冶法的局限性, 烧结后的坯料中间隙杂质元素含量仍偏高, 必须进行进一步的纯化处理, 去除有害的间隙杂质元素碳, 使区熔过程平静而稳定。
碳是一种非常有害的间隙杂质, 它可急剧地降低难熔金属的塑性, 对单晶纯度和质量的影响也很大, 根据有关资料介绍, 将其含量降到10×10-4 %, 基本上能消除钨单晶脆性断裂的倾向性
[8 ]
。 而电子束区域熔炼精炼法对C的去除效果不明显, 其原理为: 描述区域熔炼时物质分离过程的重要参数是分配系数k , 它是杂质在固相和液相中的浓度比k =c 固 /c 液 , 如果杂质k <1, 区熔过程中杂质向熔区运动方向移动, 如k >1, 杂质则向与熔区运动相反的方向移动, 达到了精炼提纯效果, 而C元素的k 值接近1, 根据扩散作用很难去除, 只能通过与氧、 氢反应时生成气态产物的挥发作用进行去除, 因此区熔净化度很低, 必须对原始坯料进行预先脱碳处理, 降低碳的含量
[8 ]
。 经过电子束熔炼预处理, 经过与氧结合以及挥发作用, 有效地降低了C的含量, 达到了预先脱碳的目的。 实践证明, 加入难熔金属单晶坯料预处理工艺, 从原料入手, 增加了电子束精炼过程, 能够制备出纯度水平高、 塑性以及内部组织好的难熔金属及其合金单晶。
1.2.2 制取籽晶
籽晶用电子束区熔法培育成的自然生长单晶, 经X光定向检验后, 用相应的方法切取。 工艺流程为: 电子束区熔法培育自然生长单晶→X射线定向检验→切取籽晶→研磨→抛光→腐蚀→X射线定向复验→籽晶。
1.2.3 引晶
为了获得良好的熔区状态, 提高引晶效率, 装料时要确保电子枪、 聚焦盖和底板“三者同心”。 且试样轴要严格垂直于籽晶晶面。 随着试样规格变细, 电子枪和聚焦盖、 底板的内径均应相应变小, 熔区变窄, 这样有利于引晶。
1.2.4 电子束区域熔炼实验
采用电子束区域熔炼法制取高纯金属时, 影响提纯的因素有: 原料材质、 聚焦系统参数、 熔化真空度、 提纯次数、 提纯速度、 熔化功率和工艺制度。 其中以提纯真空度、 次数和速度为主要参数。
1.3 聚焦系统参数
选择能造成狭窄熔区的聚焦系统参数是电子束区熔法培育单晶的前提, 细试样对熔化功率变化的反映极为敏感。 区熔时, 采用较窄熔区所制取得产品纯度比采用较宽熔区时高; 但是, 由于熔区排除杂质浓度增加较快而使得熔区排除杂质难些, 因此要求相应地增加一定的提纯速度来弥补不足。 一般来说, 一次熔化采用大熔区, 多次熔化采用窄熔区。
1.4 熔炼工艺制度和熔化功率
据文献报道
[9 ]
, 采用电子束区域熔炼提纯时, 式样首次熔透以前, 往往需要经过多次提纯, 电子束功率逐次增加, 使样品每次相继熔融一薄层 (即表面熔化) , 目的是为了不破坏真空度。 使进入熔化区后轰击电流更加稳定。
1.5 提纯次数
文献
[
9 ]
报道, 电子束区熔产品的比电阻随提纯次数的增加而提高, 硬度值随之明显下降, 但到一定值后又趋于稳定, 这是因为杂质在产品中的分布趋于极限值后, 再继续增加提纯次数是不会有多大效果的。 大量实验结果表明: 在选择合适的提纯速度的前提下, 单晶和晶面成功率都主要取决于第一次熔化。 细试样受热熔化后易弯曲、 软化、 因而使中心偏移, 不易进行第二次熔化。
1.6 提纯真空度
提纯真空度对电子束熔产品纯度的影响非常显著。 目前比较先进的设备都配备有超高真空系统以便把产品纯度提到更高值。 Tedmon, Rose和Iawley等认为: 若要制取氮、 氧含量在1×10-5 以下的产品, 必须把真空度提高到1×10-4 Pa, 否则难于达到预期的效果; 提纯真空度对比电阻的影响即使是在提纯速度较快的情况下仍非常显著。
1.7 提纯速度
提纯速度是影响提纯质量的关键因素, 它直接影响产品纯度和产品中残余杂质的分布。 Calverley, Tedmon和Rose都曾对残余杂质的分布作过试验, 他们发现: 当提纯速度较快时, 整个试样上的杂质分布比较均匀; 而当提纯速度较慢时, 残余杂质浓度在整个试样上的分布却是首端少于末端
[10 ]
。
2 难熔金属及其合金单晶技术进展
2.1 难熔金属单晶的脱碳真空退火
元素C是影响材料纯度、 性能、 质量十分有害的元素之一, 如何降低C含量是当前难熔金属单晶制备技术的关键。 英国的CAPP D J采用5~7次区熔, 0.6~0.8 cm·min-1 的熔速制取区熔钼单晶, 采用脱碳真空退火处理, 研制出性能较为优异的单晶。 其方法是: 将原始C含量为6×10-2 % 的区熔单晶在氧压为6×10-3 Pa, 1600 ℃下保温15 h, 此时可将C降到小于4×10-4 % (原子分数) , 然后在真空小于1×10-3 Pa, 1800 ℃下保温1 h除氧。 退火处理采用涡轮分子泵进行感应真空处理, 氧气氛采用连续引流射谱仪保持纯氧超过了超高真空峰值。
分析表明, C是唯一按区熔机制沿轴向再分配的元素, 其在晶体上端的含量要高于开始时材料中C的含量。 区熔过程中没有发生任何程度由氧引起的C含量的变化。 而W在区熔过程中几乎没有任何程度的减少。 晶体经脱碳退火后大大降低了轴向电阻率和杂质含量。 区熔速度一定时, 电阻率随区熔次数的增加而增大, 区熔次数一定时, 随区熔速度的减小而增大
[3 ]
。
2.2 难熔金属合金单晶的进展
耐热纯难熔金属单晶的高温强度和蠕变极限并不是最高, 通过加入合金元素固溶强化制取难熔合金单晶, 可以大大提高难熔金属合金单晶的强度, 但并不显著改变其纯金属单晶所具有的物理和其他性能
[9 ]
, 因此, 合金单晶成为难熔金属单晶制备技术又一发展方向。 与弥散强化合金相比, 固溶强化型难熔金属合金单晶可以在很宽的温度范围内工作以及随时间增加耐热特性特别稳定和直至接近熔点也能保持强化效应等优点。 以钼为基的耐热单晶合金在1600~1900 ℃温度下的抗蠕变性能可与许多传统的多晶钨合金竞争, 而且在某些结构中可替代它们。 高的强度和塑性比值使得它们在空间堆中有良好的应用前景。 这些材料曾成功地作为发射极燃料包壳材料用于“TOPAZ-2”空间核动力装置的热离子反应堆中。
2.2.1 电弧制坯区熔制备钼合金单晶
苏联的萨维茨基用真空电弧熔炼和等离子电弧熔炼预制成毛坯, 然后再用电子束区域熔炼加入合金元素进行合金化, 获得了钼-铌、 钼-钨等固溶体型的耐热合金单晶。 这种固溶强化的方法虽然提高了强度, 但降低了单晶的延伸率。 此外, 借晶格歪曲提高的这种强度, 只能维持到0.3~0.4 T熔, 即到再结晶开始温度, 超过此温度, 强度显著下降; 而且当加入合金元素多时, 由于枝晶强烈发展, 出现在单晶体积内的化学成分不均匀, 从而引起单晶物理和机械性能不一致和物理常数的变化。
2.2.2 钼合金单晶的质点强化
目前利用新的物理现象, 即是在基体存在比容更大的质点出现的相加工硬化现象来强化晶体。 这种合金化的特点是加入少量高价合金元素, 由于晶格中电子浓度增大而增大原子间的结合力, 同时保存单晶体的物理性能, 且由于第二相质点附近晶格力场强烈歪曲而出现局部加工硬化。 采用区熔炼法, 单独或共同加入碳化铌和碳化锆质点合金化强化制成的钼基合金单晶, 其机械性能见表1, 从表中可以看出, 用碳化铌和碳化锆综合合金化单晶钼时, 1600 ℃下的强度极限提高3倍以上, 屈服强度增高10倍以上。 因此, 提高钼单晶高温强度的最有效的方法是用碳化物、 氮化物或其它化合物合金化。
2.3 难熔金属合金单晶的技术展望
美国是难熔金属合金单晶制备技术较先进、 品种较齐全的国家, 表2给出了其制备方法及结果。 从表中可以看出: Mo-Nb比Mo-Hf和Mo-Hf-C合金更容易长成单晶, 因为Mo-Nb合金的固相线与液相线之间的温度差别更小, 且Mo与Nb完全固溶。 对于Mo-Nb单晶, 不存在成分偏析。 对于Mo-Hf, 只有Hf含量小于等于5%时才能长成单晶, 单晶中的Hf含量大于2.8%时会产生严重的熔质偏析
[11 ]
。
表1 纯钼单晶和钼合金单晶的机械性能
Table 1 Mechanical properties of pure Mo single crystal and Mo alloy single crystal
单晶
温度/℃
σ b /MPs
σ 0.2 /MPa
δ /%
ψ /%
纯钼
20
412
392
27.5
100
1600
15.8
4.9
82.2
100
Mo+0.11% Zr+0.01% C
20
370
268
22.5
90
1400
81.4
68.6
24.3
100
1600
63.8
58.8
46.0
100
Mo+1.8%Nb+0.11%Zr+0.1%C
20
373
255
27.0
90
1600
70.6
58.8
47.0
100
表2 钼合金单晶的制备方法及结果
Table 2 Method and result of Mo alloy single crystal preparation
名义成分
烧结工艺
熔炼工艺
合金单晶尺寸/mm
单晶的显微结构
烧结前
烧结后
熔后
Mo-2%Nb Mo-11%Nb
54.9 mm·h-1 , 3次熔炼 54.9 mm·h-1 , 2次熔炼
Φ 7.9×50.8 Φ 8.7×50.8
存在很少的亚晶, 基体和晶界处可见蚀坑。
Mo-1% Hf
11 mm·h-1 , 4次熔炼
Φ 5.5×25.4
亚晶界极少。
Mo-2% Hf Mo-0.18%Hf-0.43%C
1600 ℃, 16 h
54.9 mm·h-1 , 3次熔炼 54.9 mm·h-1 , 3次熔炼
Φ 11.1
Φ 9.5
Φ8×25.7 Φ 7.6×71
存在某些亚晶界, 棒材内部有些小空洞。
Mo-0.8%Hf-0.64%C
54.9 mm·h-1 , 3次熔炼
Φ 7.6×76
存在一些亚晶界。
Mo-11%Nb-0.18%Hf-0.43%C
22.4 mm·h-1 , 2次熔炼
Φ 6.4×15.2
单晶
Mo-2.75%Hf
11 mm·h-1 , 2次熔炼
单晶
难熔金属合金单晶的制备技术是一个新型技术, 这方面的文献还不太多, 国内的研究尚处在起步阶段, 如何获得合金成分可靠、 纯度水平高、 规格齐全的难熔金属单晶产品, 提高难熔金属单晶的质量是科研工作者需要考虑的问题。 作者认为难熔金属单晶制备技术应沿着如下几个方面发展: (1) 近一步降低杂质元素特别是C元素的含量, 提高单晶纯度水平。 (2) 发展大规格、 多品种的难熔金属单晶产品。 (3) 进一步提高难熔金属合金单晶耐热性能和使用温度, 研发出新的难熔金属合金单晶制备技术。
3 结 语
难熔金属及其合金单晶的发展与其应用工业的迅猛发展息息相关, 工业技术的不断进步要求难熔金属及其单晶具有更高的质量
[12 ]
。 一方面要根据现有技术水平研发出品种更多, 质量更高的难熔金属及其合金单晶产品, 另一方面要根据发展前景探索出新工艺和新技术。 相信随着现代科技的发展, 难熔金属及其合金单晶必将进一步扩大其应用领域。
参考文献
[1] 李 哲, 郭让民. 高纯钨单晶坯料预处理工艺研究[J].稀有金属, 2001, 25 (2) :144.
[2] 李 哲, 郭让民. 高纯钽丝制备工艺探讨[J].稀有金属, 1998, 22 (增) :251.
[3] 唐敦湘. 大尺寸定向面钼单晶研究[J].稀有金属材料与工程, 1985, (1) :15.
[4] 唐敦湘, 郭让民. 大尺寸钽单晶生长工艺研究[A].第五届难熔金属会议论文集编辑组编.第五届难熔金属会议论文集学术交流会文集[C].宝鸡:宝鸡稀有金属加工研究所, 1986.110.
[5] 张淑芬. 定向晶面难熔金属单晶制取工艺研究[A].第四届难熔金属会议论文集编辑组编.第四届难熔金属会议论文集学术交流会文集[C].宝鸡:宝鸡稀有金属加工研究所, 1983.65.
[6] 戴永年. 真空冶金[M].北京:冶金工业出版社, 1988.383.
[7] 马尔采夫MB .李沐山译. 难熔金属和硬质合金的真空冶金[M].北京:冶金工业出版社, 1984.11.
[8] 麦克林D . 金属中的晶粒间界[M].北京:科学出版社, 1965.19.
[9] зеΠкмаиAH . 用固态萃取剂分离钼和钨[J].国外稀有金属, 1991, 2:18.
[10] 唐敦湘. 区熔堆积法制取大尺寸铌单晶[J].稀有金属材料与工程, 1982, 6:1.
[11] RalphHZ , JunLiu. Processingofmolybdenum basedalloysinglecrystals[A].EditedbyShinKS , YoonJK , KimSJ.Proceedingsofthe2ndPacificRimInternationalConferenceonAdvancedMateri alsandProcessing[C].Korean:TheKoreanInstituteofMetalsandMaterials, 1995.2513.
[12] 有色金属材料咨询研究组编辑. 有色金属材料咨询报告[M].西安:陕西科学出版社, 2002.94.